Curiosii for ever!: Car repair manuals for everyone.

Fuel Level Sensor Inspection




Fuel Level Sensor Inspection

Main Fuel Level Sensor

Main Fuel Level Sensor Removal and Installation

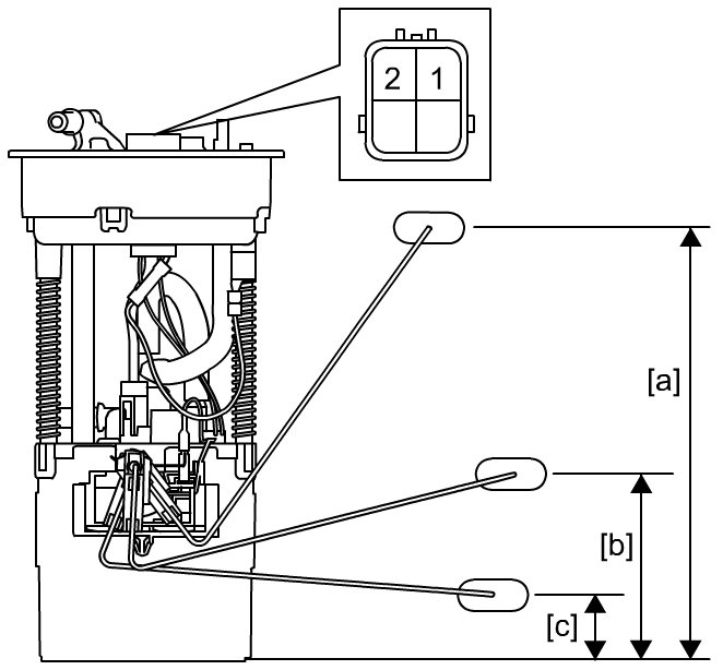
Check resistance between terminals (1) and (2) at each float position [a], [b] and [c].

If measured resistance is out of specification, replace main fuel level sensor.

Main fuel level sensor resistance

Standard










Sub Fuel Level Sensor

Sub Fuel Level Sensor Removal and Installation

Check resistance between terminals (1) and (2) at each float position [a], [b] and [c].

If measured resistance is out of specification, replace sub fuel level sensor.

Sub fuel level sensor resistance

Standard