Curiosii for ever!: Car repair manuals for everyone.

Removal and Installation




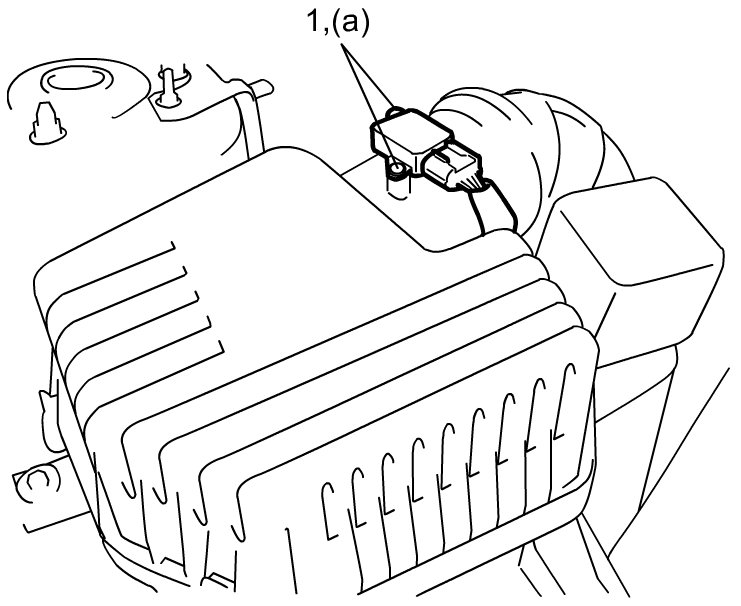
MAF (Mass Air Flow) and IAT (Intake Air Temperature) Sensor Removal and Installation

MAF (Mass Air Flow) and IAT (Intake Air Temperature) Sensor On-Vehicle Inspection

NOTE:

Failure to take proper precautions when handling the MAF and IAT sensor, and when performing maintenance, may lead to malfunction of the MAF and IAT sensor.

- Do not disassemble the MAF and IAT sensor.
- Do not drop or otherwise expose the sensors to shock. Any MAF and IAT sensor that has been dropped must be replaced.
- Do not clean the MAF and IAT sensor.
- Do not direct compressed air from an air gun or the like to the MAF and IAT sensor.
- Do not put a finger or any other object into the MAF and IAT sensor.

Removal

1) Disconnect negative cable from battery.
2) Disconnect MAF and IAT sensor connector.
3) Remove MAF and IAT sensor (1) from air cleaner case (2).






Installation

MAF (Mass Air Flow) and IAT (Intake Air Temperature) Sensor Inspection

Reverse removal procedure noting the following.

- Tighten MAF and IAT sensor screws (1) to specified torque.

Tightening torque
MAF and IAT sensor screw (a): 1.2 Nm (0.12 kgf-m, 0.9 lbf-ft)