Curiosii for ever!: Car repair manuals for everyone.

APP (Accelerator Pedal Position) Sensor Inspection




APP (Accelerator Pedal Position) Sensor Inspection

1) Remove accelerator pedal assembly.
2) Check APP sensor output voltage as follows.

If faulty condition is found, replace accelerator pedal assembly (incorporated with APP sensor). Accelerator Pedal Assembly (Incorporating APP Sensor) Removal and Installation
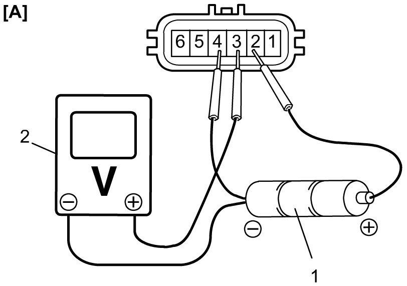
a) Connect 3 new 1.5 V batteries (1) in series and check that total voltage is 4.5 - 5.0 V.
b) Connect voltmeter (2) and batteries to APP sensor as shown in figure.
















c) Check that voltage varies depending on accelerator opening angle as the following graph.