Curiosii for ever!
: Car repair manuals for everyone.
Home
>>
Suzuki Truck
>>
2012
>>
Equator 2WD L4-2.5L
>>
Repair and Diagnosis
>>
Wiper and Washer Systems
>>
Windshield Washer Switch
>>
Description and Operation
>>
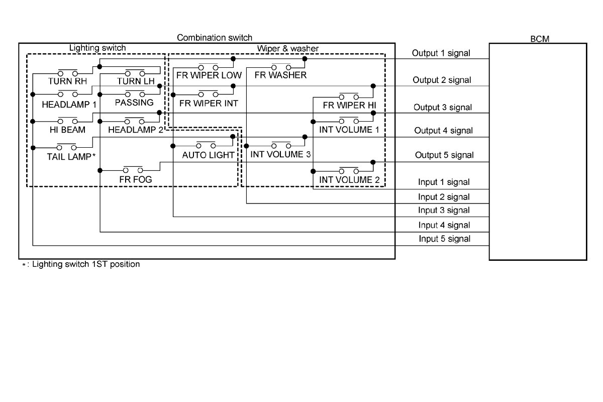
Combination Switch Reading System Diagram
Combination Switch Reading System Diagram
Combination Switch
Reading System: System Diagram