Curiosii for ever!: Car repair manuals for everyone.

Windshield: Service and Repair




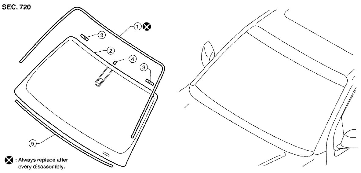
Windshield Glass: Removal and Installation










Removal

1) Remove inside mirror. Refer to [Inside Mirror Assembly: Removal and Installation] Inside Mirror Assembly: Removal and Installation.
2) Remove the front pillar upper finisher. Refer to [Body Side Trim: Removal and Installation] Body Side Trim Removal and Installation.
3) Remove cowl top cover. Refer to [Cowl Top: Removal and Installation] Service and Repair.
4) Remove windshield glass using piano wire or power cutting tool (A) and an inflatable pump bag (B).





- Apply protective tape around the windshield glass to protect the painted surface from damage.
- If the windshield glass is to be reused, mark the body and the glass with mating marks.

WARNING:
When cutting the glass from the vehicle, always wear safety glasses and heavy gloves to help prevent glass splinters from entering your eyes or cutting your hands.

CAUTION:
- Be careful not to scratch the glass when removing.
- Do not set or stand glass on its edge. Small chips may develop into cracks.
- Protect the painted surface around the windshield glass from damage.

Installation

Installation is in the reverse order of removal.

- Use a Urethane Adhesive Kit (if available) or equivalent and follow the instructions furnished with it.
- While the urethane adhesive is curing, open a door window. This will prevent the glass from being forced out by passenger compartment air pressure when a door is closed.
- The molding must be installed securely so that it is in position and leaves no gap.
- Inform the customer that the vehicle should remain stationary until the urethane adhesive has completely cured (preferably 24 hours). Curing time varies with temperature and humidity.

WARNING:

- Keep heat and open flames away as primers and adhesive are flammable.
- The materials contained in the kit are harmful if swallowed, and may irritate skin and eyes. Avoid contact with the skin and eyes.
- Use in an open, well ventilated location. Avoid breathing the vapors. They can be harmful if inhaled. If affected by vapor inhalation, immediately move to an area with fresh air.
- Driving the vehicle before the urethane adhesive has completely cured may affect the performance of the windshield in case of an accident.

CAUTION:

- Do not use an adhesive which is past its usable term. Shelf life of this product is limited to six months after the date of manufacture. Carefully adhere to the expiration or manufacture date printed on the box.
- Keep primers and adhesive in a cool, dry place. Ideally, they should be stored in a refrigerator.
- Do not leave primers or adhesive cartridge unattended with their caps open or off.
- The vehicle should not be driven for at least 24 hours or until the urethane adhesive has completely cured. Curing time varies depending on temperature and humidities. The curing time will increase under lower temperatures and lower humidities.









Repairing Water Leaks for Windshield

Leaks can be repaired without removing and reinstalling glass.

If water is leaking between the urethane adhesive material and body or glass, determine the extent of leakage.

This can be done by applying water to the windshield area while pushing glass outward.

To stop the leak, apply primer (if necessary) and then urethane adhesive to the leak point.