Curiosii for ever!: Car repair manuals for everyone.

4-Speed Automatic Transmission

Transmission Range Sensor Removal and Installation

Removal
1) Disconnect negative cable at battery.
2) Hoist vehicle.
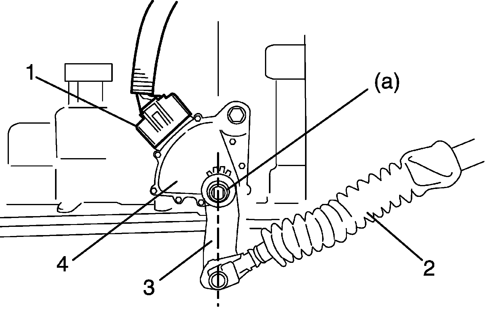
3) Disconnect transmission range sensor connector (1).
4) Disconnect select cable (2) from manual select lever (3).
5) Remove manual select lever (3) from transmission range sensor (4).





6) Unbend bend parts of lock washer (1), then remove manual shift shaft nut (2), lock washer (1) and grommet.
7) Remove transmission range sensor (3) by removing sensor bolt (4).





Installation
1) Install transmission range sensor (3) and tighten sensor bolt (4) temporarily.
2) Install grommet, lock washer (1) and manual shift shaft nut (2).
Tighten nut to specified torque. After tightening it, bend claws of lock washer (1).

Tightening torque
Manual shift shaft nut (a): 12.5 Nm (1.25 kg-m, 9.0 lbf-ft)

3) After turning manual shift shaft fully counterclockwise, turn it clockwise by 2 notches and set it to "N" range.
4) With "N" reference line (5) on range sensor and shaft center (6) aligned, tighten transmission range sensor bolt (4) to specified torque.

Tightening torque
Transmission range sensor bolt (b): 5.3 Nm (0.53 kg-m, 4.0 lbf-ft)





5) Install manual select lever (3) to transmission range sensor (4).
Tighten nut to specified torque.

Tightening torque
Manual select lever nut (a): 12.5 Nm (1.25 kg-m, 9.0 lbf-ft)

6) Connect select cable (2) to manual select lever (3).
7) Connect transmission range sensor connector (1).
8) Connect negative cable at battery.
9) Adjust select cable.