Curiosii for ever!: Car repair manuals for everyone.

System Specifications





Cylinder Head Bolt
Tighten cylinder head bolts to 20 Nm (2.0 kgf-m, 15.0 lbf-ft) in numerical order ("1" - "10") evenly and gradually.
In the same manner as in Step c), retighten them to 40 Nm (4.1 kgf-m, 29.5 lbf-ft).
In the same manner as Step c), retighten them to 60 degrees.
In the same manner as Step c), retighten them to 80 degrees.

Cylinder Head Bolt Reuse/Replace

NOTE: If they are reused, check thread diameter of cylinder head bolt (1) for deformation as follows and replace it with new one if thread diameter difference exceeds its limit.

Measure each thread diameter of cylinder head bolt "A" at "a" and "B" at "b" using micrometer (3).
Then calculate difference in diameters (A - B).
If it exceeds limit, replace cylinder head bolt with new bolt.
Cylinder head bolt diameter measurement points
"a": 95.0 mm (3.74 in.)
"b": 130.0 mm (5.12 in.)
Cylinder head bolt diameter difference (deformation)
Limit (A - B): 0.25 mm (0.0098 in.)











Exhaust manifold bolt: 20 Nm (2.0 kg-m, 15.0 lbf-ft)
Exhaust manifold nut: 20 Nm (2.0 kg-m, 15.0 lbf-ft)

Exhaust camshaft timing sprocket bolt 60 N-m (6.1 kgf-m, 44.5 lbf-ft)
CMP actuator bolt 60 N-m (6.1 kgf-m, 44.5 lbf-ft)





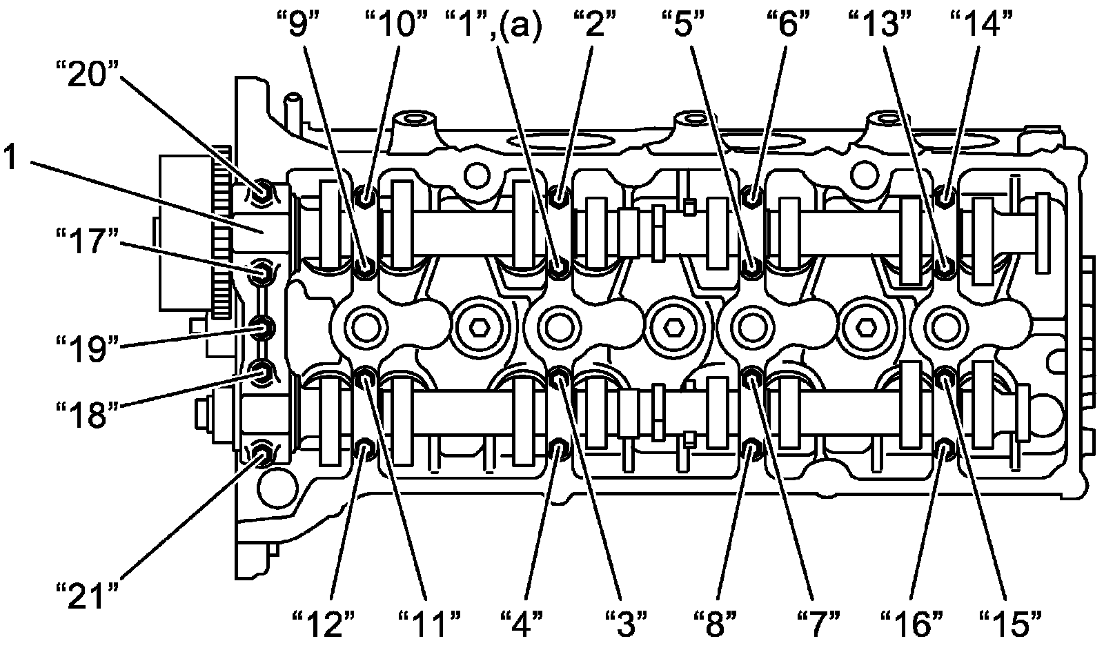
Tighten camshaft housing bolts in numerical order ("1" - "21") evenly and gradually.
Camshaft housing bolt: 11 Nm (1.1 kg-m, 8.5 lbf-ft)

Distortion of mating surface of cylinder head and cylinder head gasket
Limit: 0.03 mm (0.0011 in.)