Curiosii for ever!: Car repair manuals for everyone.

System Specifications

Cylinder bore diameter
Limit: 92.050 mm (3.6240 in.)

Cylinder bore roundness ([3] - [4])
Limit: 0.020 mm (0.00078 in.)

Cylinder bore taper ([1] - [2])
Limit: 0.013 mm (0.00051 in.)

Piston clearance
Limit: 0.12 mm (0.0047 in.)

Piston Ring
1st ring
Standard 0.24 - 0.28 mm (0.0095 - 0.0110 in.)
Limit 0.13 mm (0.0052 in.)
2nd ring
Standard 0.03 - 0.07 mm (0.0012-0.0027 in.)
Limit 0.11 mm (0.0433 in.)
Oil ring
Standard 0.04 - 0.18 mm (0.0016 - 0.0070 in.)
Limit

Piston Ring End Gap
1st ring
Standard 0.20 - 0.33 mm (0.0079 - 0.0129 in.)
Limit 0.7 mm (0.0275 in.)
2nd ring
Standard 0.32 - 0.48 mm (0.0126 - 0.0188 in.)
Limit 0.7 mm (0.0275 in.)
Oil ring
Standard 0.20 - 0.50 mm (0.0079 - 0.0196 in.)
Limit 1.8 mm (0.0708 in.)

Connecting rod alignment
Limit on bow: 0.05 mm (0.0019 in.)
Limit on twist: 0.10 mm (0.0039 in.)

Connecting Rod
Big-end side clearance
Standard: 0.25 - 0.40 mm (0.0099 - 0.0157 in.)

Connecting rod bearing clearance
Standard: 0.045 - 0.063 mm (0.0018 - 0.0024 in.)
Limit: 0.065 mm (0.0025 in.)

Connecting rod big-end inside diameter
Stamped number 1 53.0000 - 53.0060 mm (2.08662 - 2.08685 in.)
Stamped number 2 53.0061 - 53.0120 mm (2.08686 - 2.08708 in.)
Stamped number 3 53.0121 - 53.0180 mm (2.08710 - 2.08732 in.)

Crankshaft pin diameter
Stamped alphabet
A 49.9940 - 50.0000 mm (1.96827 - 1.96850 in.)
B 49.9880 - 49.9939 mm (1.96804 - 1.96826 in.)
C 49.9820 - 49.9879 mm (1.96780 - 1.96802 in.)

Crankshaft pin diameter
Standard: 49.982 - 50.000 mm (1.96780 - 1.96850 in)

Crankshaft pin taper ([a] -[b]) and out-of-round ([1] -[2])
Limit: 0.01 mm (0.0003 in.)





Crankshaft runout
Limit: 0.02 mm (0.0007 in.)





Crankshaft thrust play
Standard: 0.10 - 0.35 mm (0.0040 - 0.0137 in.)





Thrust bearing thickness
Standard size: 2.470 - 2.520 mm (0.973 - 0.9921 in.)
Oversize (0.125 mm, 0.00492 in.): 2.533 - 2.583 mm (0.0998 - 0.1016 in.)

Crankshaft journal outside diameter
Standard: 51.982- 52.000 mm (2.0466 - 2.0472 in)
Limit: 51.972 mm (2.0461 in.)

Crankshaft out-of-round (A - B) and taper (a - b)
Limit: 0.01 mm (0.0003 in.)





Cylinder block flatness
Limit: 0.03 mm (0.001 in.)

Main bearing clearance
Standard: 0.022 - 0.034 mm (0.00087 - 0.00133 in.)
Limit: 0.050 mm (0.00196 in.)

Selection of Main Bearings














Standard size Bearing








Undersize bearing (0.25 mm)

Crank case bolt diameter measurement points
"a": 61.0 mm (2.40 in.)
"b": 98.0 mm (3.86 in.)

Crank case cap bolt diameter difference
Limit ("A" - "B"): 0.013 mm (0.0051 in.)

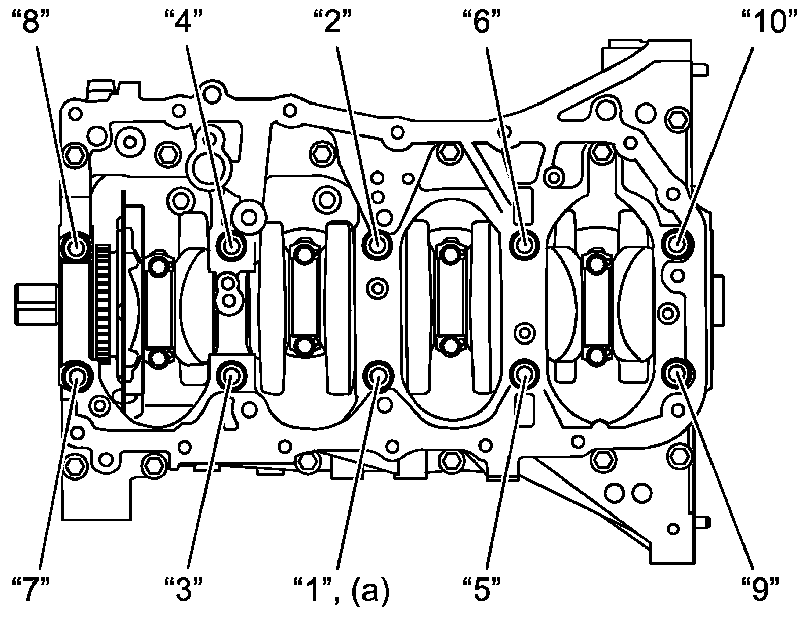
Crank Case bolts
Apply engine oil to bolt threads and seats of crank case bolt No.1 and tighten bolt to 50 Nm (5.1 kgf-m, 37.0 lbf-ft) in numerical order ("1". "10") evenly and gradually.
Loosen all bolts in reverse numerical order until loosening torque becomes 0.
In the same manner as Step a), retighten them to 20 Nm (2.0 kgf-m, 15.0 lbf-ft).
In the same manner as Step a), retighten them to 35 Nm (3.6 kgf-m, 26.0 lbf-ft).
In the same manner as Step a), retighten them to 40 degrees.
In the same manner as Step a), retighten them to 40 degrees.





Tighten crank case bolt No.2s in numerical order ("1" - "12") evenly and gradually.
Crank case bolt No.2* (a): 25 Nm (2.5 kg-m, 18.5 lbf-ft)

Connecting Rod bolts
Tighten all connecting rod bearing cap bolt to 15 Nm (1.5 kgf-m, 11.0 lbf-ft) evenly and gradually.
In the same manner as Step c), retighten them to 45 degrees.
In the same manner as Step c), retighten them to 45 degrees.

Crankshaft pulley bolt 150 N-m (15.3 kgf-m, 111.0 lbf-ft)