Curiosii for ever!: Car repair manuals for everyone.

CAN Communication System Description

CAN Communication System Description

System Description
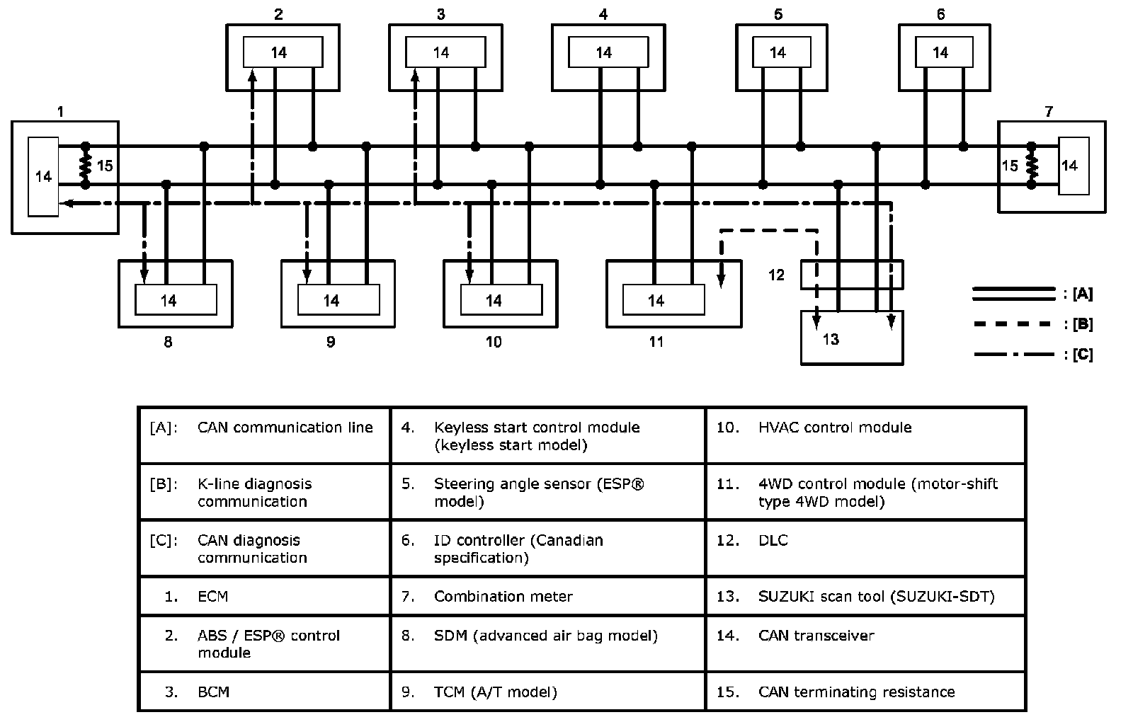
ECM, TCM (A/T model), ABS / ESP(R) control module, BCM, combination meter, 4WD control module (motor-shift type 4WD model), HVAC control module, keyless start control module (keyless start model), SDM (advanced air bag model), ID controller (Canadian specification) and steering angle sensor (ESP(R) model) of this vehicle communicate control data between each control module.
Communication of each control module is established by CAN (Controller Area Network) communication system. CAN communication system uses the serial communication in which data is transmitted at a high speed. It uses a twisted pair of two communication lines (CAN High / CAN Low) for the high-speed data transmission. As one of its characteristics, multiple control modules can communicate simultaneously. In addition, it has a function to detect a communication error automatically. Each module reads necessary data from the received data and transmits data.
The system is structured in such way that other control modules / sensors are connected (hooked) to CAN main bus (CAN main circuit) between ECM and combination meter. ECM and combination meter have a built-in terminating resistance to stabilize the entire CAN bus (CAN circuit). If either module is disconnected or any abnormality (open or shorted CAN circuit) occurs, CAN bus as a whole becomes unstable and causes malfunction of CAN communication between modules.

System Block Diagram







Communication with Scan Tool
- K-line or CAN line is used for communication between each control module and scan tool. Refer to Diagnosis Communication Table to determine which line is used for communication between each control module and scan tool.
- ECM, TCM (A/T model), ABS / ESP(R) control module, BCM, SDM (advanced air bag model) and HVAC control module use CAN line for communication with scan tool. Even if CAN line has a trouble other than between DLC and BCM, communication may also fail between scan tool and these control modules.
- 4WD control module (motor-shift type 4WD model) use K-line for communication with scan tool. Even if CAN line has a trouble, it is possible to communicate between scan tool and this control module.

Bus Check Function of SUZUKI Scan Tool (SUZUKI-SDT)
SUZUKI scan tool (SUZUKI-SDT) efficiently diagnoses a CAN bus malfunction by "Communication Bus Check" and "Communication Malfunction DTC" under "Bus check".
"Communication Bus Check" can display all control modules / sensors name communicated by CAN. (except ID controller)
Also, "Communication Malfunction DTC" can display only DTC related to CAN, which is detected by the control modules communicating with scan tool using CAN communication line.

Diagnosis Communication Table







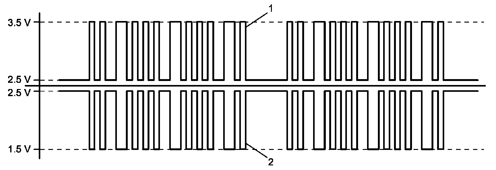
CAN Communication Signal
CAN communication system is a serial communication system to transmit a multiple number of data (values from sensors, control data and control signals) as ON-OFF digital signals through the communication line. This system uses two communication lines (CAN High and CAN Low) for the communication circuit so as to maintain high reliability even when used for the high-speed serial communication.
The serial communication takes place as shown below with 2.5 V as the reference level for both CAN High signal (1) and CAN Low signal (2). The range of CAN High signal is from 2.5 V to about
3.5 V and that of CAN Low signal is from 2.5 V to about 1.5 V. When both of them are 2.5 V, the signal is judged as OFF and when CAN High signal is 3.5 V and CAN Low signal is 1.5 V (that is, when the High to Low voltage difference is more than about 2 V) the signal then is judged as ON. For this reason, it is a feature of CAN communication signal that the signal waveform is symmetrical between CAN High and CAN Low signals with respect to the 2.5 V level. CAN communication fails when such signal form collapses.