Curiosii for ever!: Car repair manuals for everyone.

Accelerator Pedal Position Sensor: Service and Repair

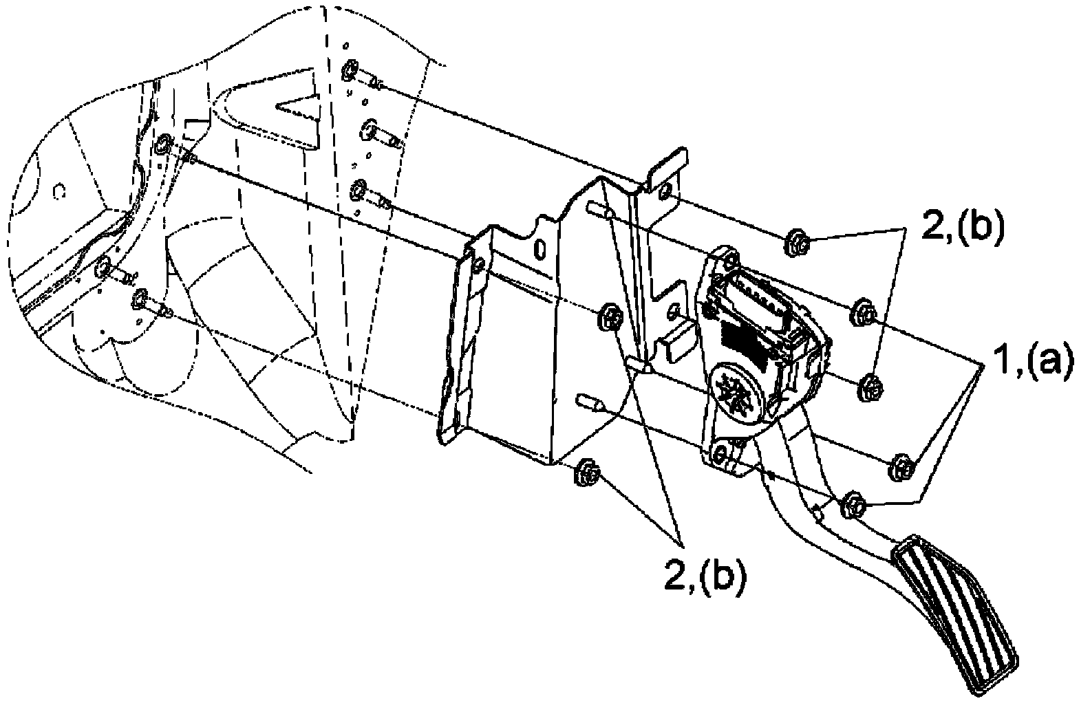
Accelerator Pedal Assembly (Incorporating APP Sensor) Removal and Installation

CAUTION:
- Do not drop or otherwise give excessive shock to accelerator pedal assembly (incorporating APP sensor). Accelerator pedal assembly (incorporating APP sensor) that has experienced any excessive shock must be replaced.
- Be careful not to expose sensor section of accelerator pedal assembly (incorporating APP sensor) to water and oil.
- Do not disassemble accelerator pedal assembly (incorporating APP sensor).


NOTE: After replacing accelerator pedal assembly (incorporating APP sensor), calibrate throttle valve position.

Removal
1. Disconnect negative cable from battery.
2. Remove steering column hole cover.
3. Disconnect connector from accelerator pedal assembly (incorporating APP sensor).
4. Remove accelerator pedal assembly (incorporating APP sensor) from its bracket.

Installation
Reverse removal procedure for installation noting the following.
- Tighten accelerator pedal assembly nut (1) and accelerator pedal assembly bracket nut (2) to specified torque.

Tightening torque
Accelerator pedal assembly nut (a): 6.0 N.m (0.61 kg-m, 4.5 lbf-ft)
Accelerator pedal assembly bracket nut (b): 6.0 N.m (0.61 kg-m, 4.5 lbf-ft)






- Connect connector to APP sensor assembly securely.