Fuse: Description
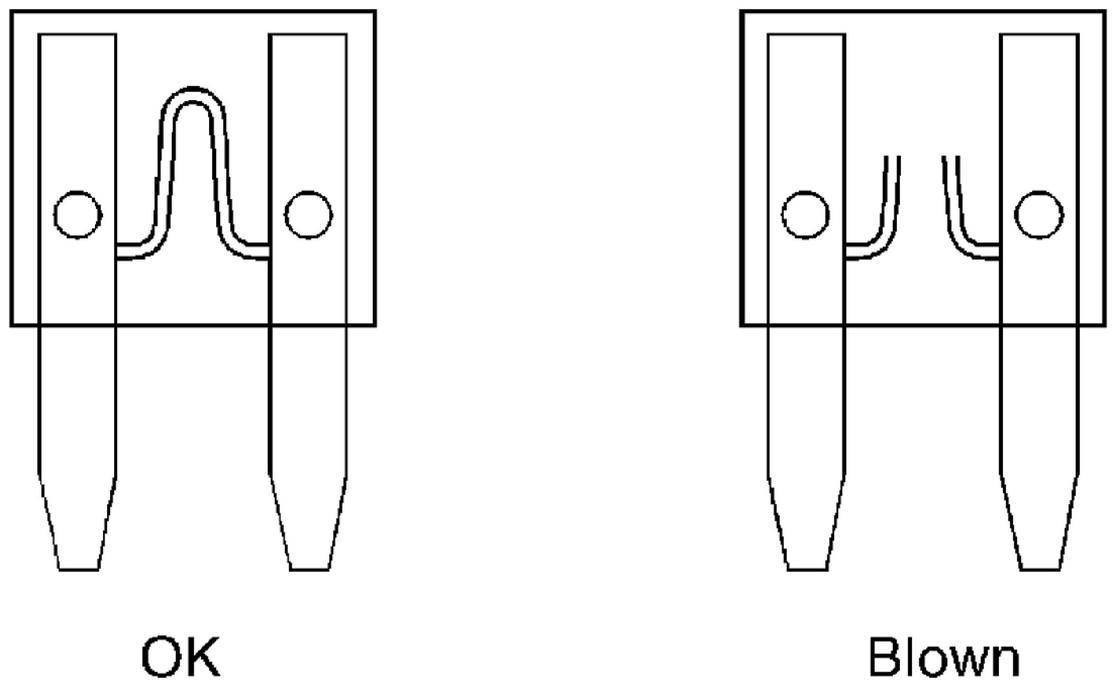
Fuse: Description- If fuse is blown, be sure to eliminate cause of malfunction before installing new fuse.
- Use fuse of specified rating. Never use fuse of more than specified rating.
- Do not partially install fuse; always insert it into fuse holder properly.
- Remove fuse for "ELECTRICAL PARTS (BAT)" if vehicle is not used for a long period of time.