Curiosii for ever!: Car repair manuals for everyone.

How to Read Wiring Diagrams

How to Read Wiring Diagrams

Connector symbols
Most of connector symbols in wiring diagrams are shown from the terminal side.
- Connector symbols shown from the terminal side are enclosed by a single line and followed by the direction mark.






- Connector symbols shown from the harness side are enclosed by a double line and followed by the direction mark.
- Certain systems and components, especially those related to OBD, may use a new style slide locking type harness connector. For description and how to disconnect, refer to [Harness Layout].
- Male and female terminals






Connector guides for male terminals are shown in black and female terminals in white in wiring diagrams.

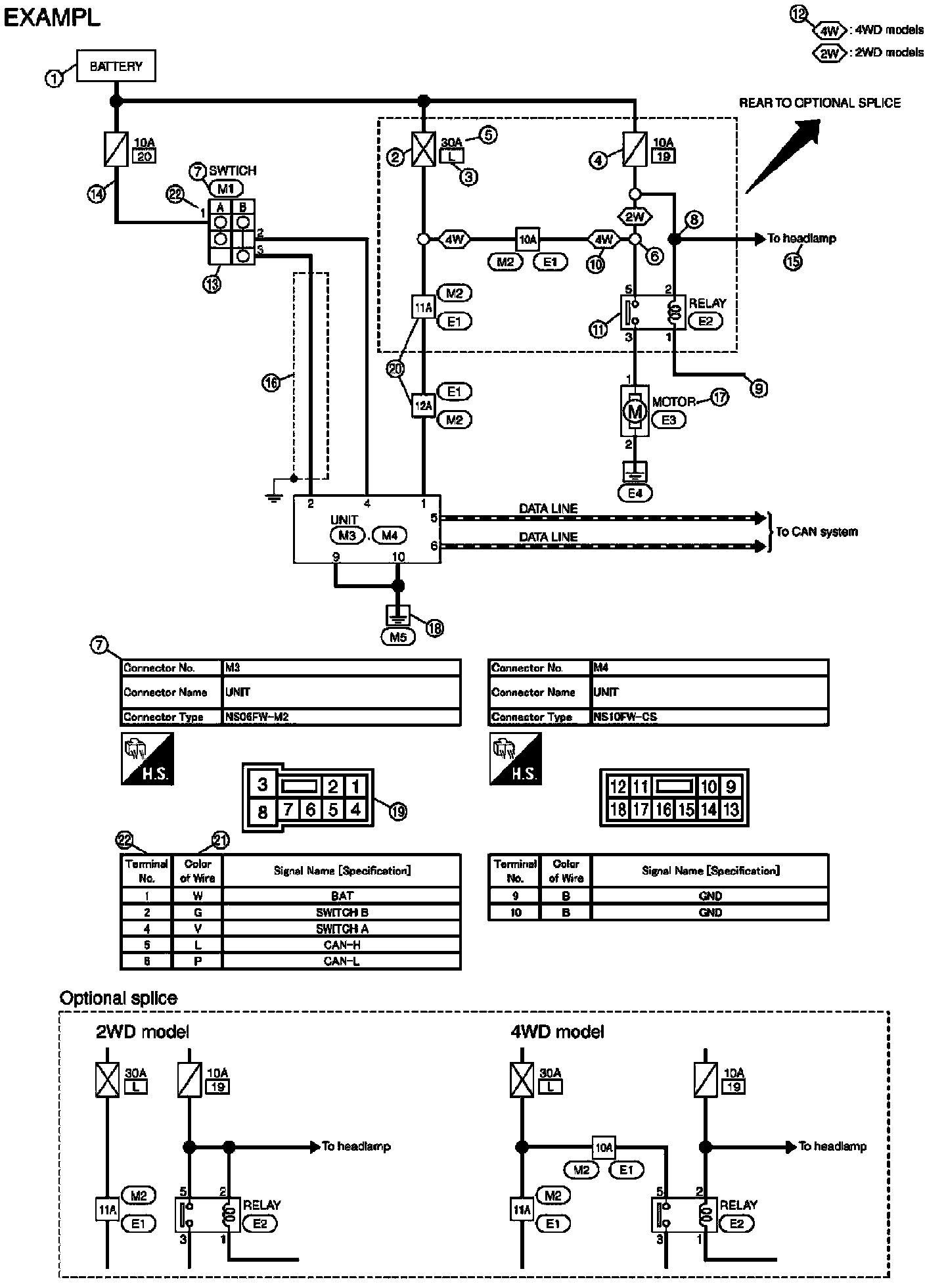
Sample/wiring diagram -example-
- For detail, refer to following [How to Read Wiring Diagrams].






Description






Switch Positions
Switches are shown in wiring diagrams as if the vehicle is in the "normal" condition.
A vehicle is in the "normal" condition when:
- ignition switch is "OFF",






- doors, hood and trunk lid/back door are closed,
- pedals are not depressed, and
- parking brake is released.

Multiple Switch
The continuity of multiple switch is described in two ways as shown below.
- The switch chart is used in schematic diagrams.
- The switch diagram is used in wiring diagrams.