Curiosii for ever!: Car repair manuals for everyone.

Combination Switch Circuit Check

Combination Switch Circuit Check

Description

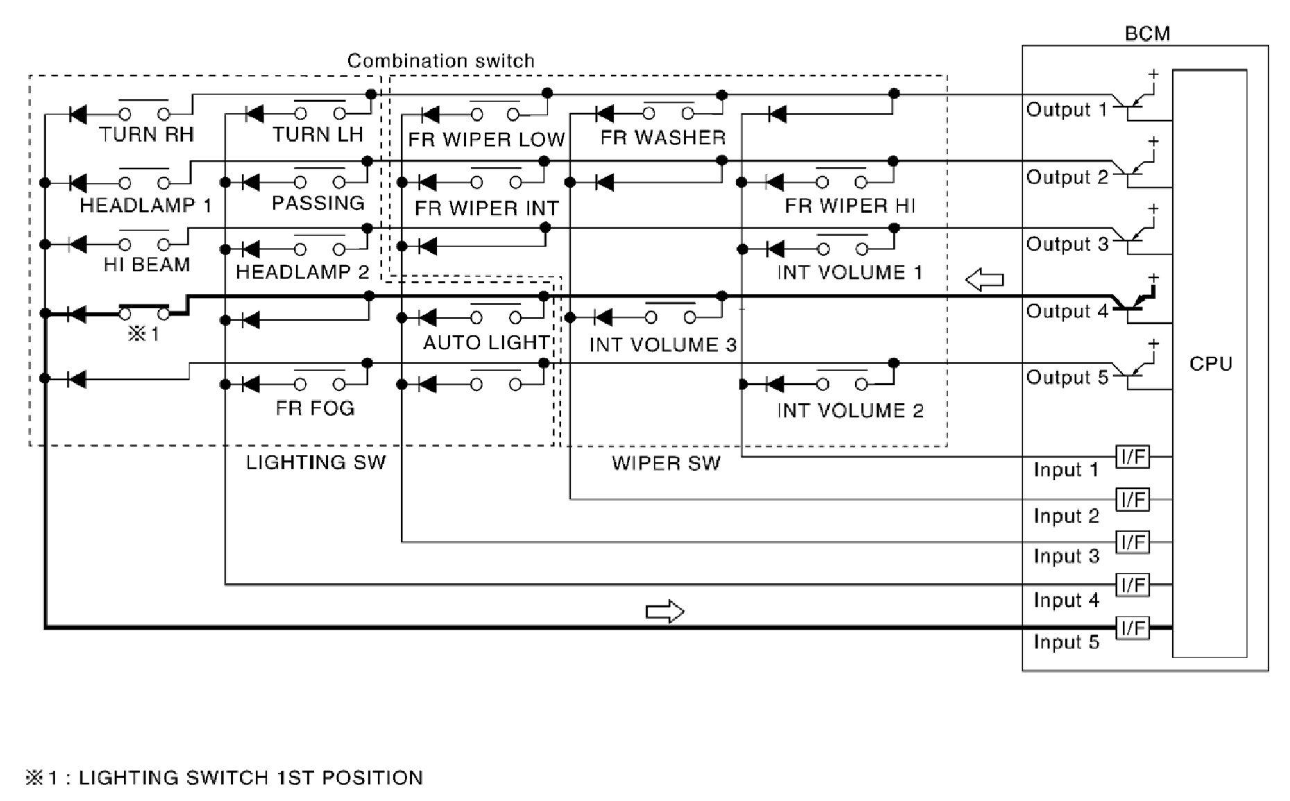
Combination Switch Matrix
Combination switch consists of INPUT circuit and OUTPUT circuit.

Combination switch circuit






Combination switch INPUT-OUTPUT system list






NOTE: Headlamp has a dual system switch.

Diagnosis Procedure

Step 1-3: