Curiosii for ever!: Car repair manuals for everyone.

Computers and Control Systems: Service Precautions

Precautions: On Board Diagnosis (OBD) System of Engine and A/T

The ECM has an on board diagnostic system. It will illuminate the malfunction indicator lamp (MIL) to warn the driver of a malfunction causing emission deterioration.

CAUTION:
- Always turn the ignition switch OFF and disconnect the negative battery cable before any repair or inspection work. The open/short circuit of related switches, sensors, solenoid valves, etc. will cause the MIL to illuminate.
- Always connect and lock the connectors securely after work. A loose (unlocked) connector will cause the MIL to illuminate due to the open circuit. (Be sure the connector is free from water, grease, dirt, bent terminals, etc.)
- Certain systems and components, especially those related to OBD, may use a new style slide-locking type harness connector. For description and how to disconnect, refer to [Harness Connector: Description].
- Always route and secure the harnesses properly after work. The interference of the harness with a bracket, etc. may cause the MIL to illuminate due to the short circuit.
- Always connect rubber tubes properly after work. A misconnected or disconnected rubber tube may cause the MIL to illuminate due to the malfunction of the EVAP system or fuel injection system, etc.
- Always erase the unnecessary malfunction information (repairs completed) from the ECM and TCM (Transmission control module) before returning the vehicle to the customer.


Precaution for Work

- Always use a 12 volt battery as power source.






- Never attempt to disconnect battery cables while engine is running.
- Before connecting or disconnecting the ECM harness connector, turn ignition switch OFF and disconnect negative battery cable. Failure to do so may damage the ECM because battery voltage is applied to ECM even if ignition switch is turned OFF.
- Before removing parts, turn ignition switch OFF and then disconnect negative battery cable.
- Never disassemble ECM.
- If a battery cable is disconnected, the memory will return to the ECM value.
The ECM will now start to self-control at its initial value. Engine operation can vary slightly when the terminal is disconnected. However, this is not an indication of a malfunction. Never replace parts because of a slight variation.

- If the battery is disconnected, the following emission-related diagnostic information will be lost within 24 hours.
- Diagnostic trouble codes
- 1st trip diagnostic trouble codes
- Freeze frame data
- 1st trip freeze frame data
- System readiness test (SRT) codes
- Test values
- [Flexible Fuel Vehicle]
Presumed ethanol mixture ratio

- When connecting ECM harness connector, fasten it securely with levers as far as they will go as shown in the figure.






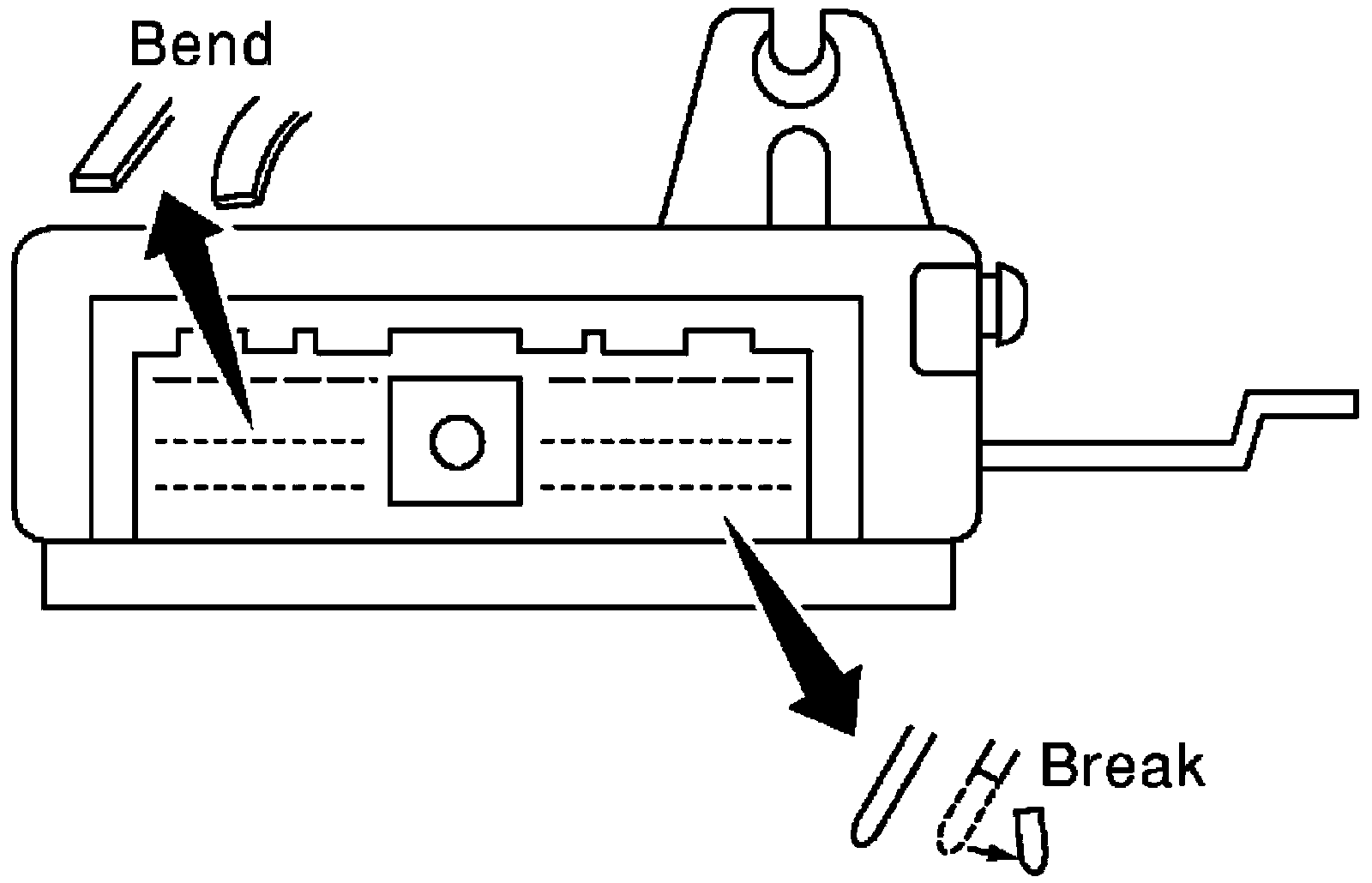
- When connecting or disconnecting pin connectors into or from ECM, take care not to damage pin terminals (bend or break).






Check that there are not any bends or breaks on ECM pin terminal, when connecting pin connectors.

- Securely connect ECM harness connectors.
A poor connection can cause an extremely high (surge) voltage to develop in coil and condenser, thus resulting in damage to ICs.

- Keep engine control system harness at least 10 cm (4 in) away from adjacent harness, to prevent engine control system malfunctions due to receiving external noise, degraded operation of ICs, etc.
- Keep engine control system parts and harness dry.

- Before replacing ECM, perform "ECM Terminals and Reference Value" inspection and check ECM functions properly. Refer to [ECM Terminal and Reference Value]. Pinout Values and Diagnostic Parameters






- Handle mass air flow sensor carefully to avoid damage.
- Never clean mass air flow sensor with any type of detergent.
- Never disassemble electric throttle control actuator.
- Even a slight leak in the air intake system can cause serious incidents.
- Never shock or jar the camshaft position sensor (PHASE), crankshaft position sensor (POS).
- After performing each TROUBLE DIAGNOSIS, perform DTC Confirmation Procedure or Overall Function Check.






The DTC should not be displayed in the DTC Confirmation Procedure if the repair is completed. The Overall Function Check should be a good result if the repair is completed.

- When measuring ECM signals with a circuit tester, never allow the two tester probes to contact.






Accidental contact of probes will cause a short circuit and damage the ECM power transistor.

- Never use ECM ground terminals when measuring input/output voltage. Doing so may result in damage to the ECM's transistor. Use a ground other than ECM terminals, such as the ground.

- B1 indicates the bank 1, B2 indicates the bank 2 as shown in the figure.






- Never operate fuel pump when there is no fuel in lines.






- Tighten fuel hose clamps to the specified torque.
- Never depress accelerator pedal when starting.






- Immediately after starting, never rev up engine unnecessarily.
- Never rev up engine just prior to shutdown.
- When installing C.B. ham radio or a mobile phone, always observe the following as it may adversely affect electronic control systems depending on installation location.






a. Keep the antenna as far as possible from the electronic control units.
b. Keep the antenna feeder line more than 20 cm (8 in) away from the harness of electronic controls.
Never let them run parallel for a long distance.
c. Adjust the antenna and feeder line so that the standing-wave radio can be kept smaller.
d. Always ground the radio to vehicle body.