Curiosii for ever!: Car repair manuals for everyone.

Rear Side Door Window Switch Replacement

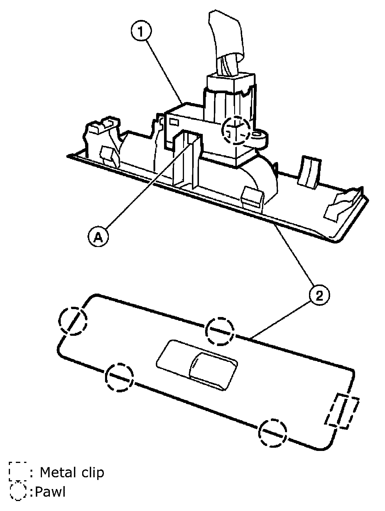
Rear Power Window Switch: Removal and Installation - Rear Door Switch (if equipped)

Removal
1. Remove the rear power window switch finisher (2) from the rear door finisher. Refer to [Door Finisher: Removal and Installation].







2. Release the two tabs (A), one on either side, then separate the rear power window switch (1) from the finisher (2).

Installation
Installation is in the reverse order of removal.