Curiosii for ever!
: Car repair manuals for everyone.
Home
>>
Suzuki Truck
>>
2010
>>
Equator 2WD L4-2.5L
>>
Repair and Diagnosis
>>
Specifications
>>
Mechanical Specifications
>>
Engine
>>
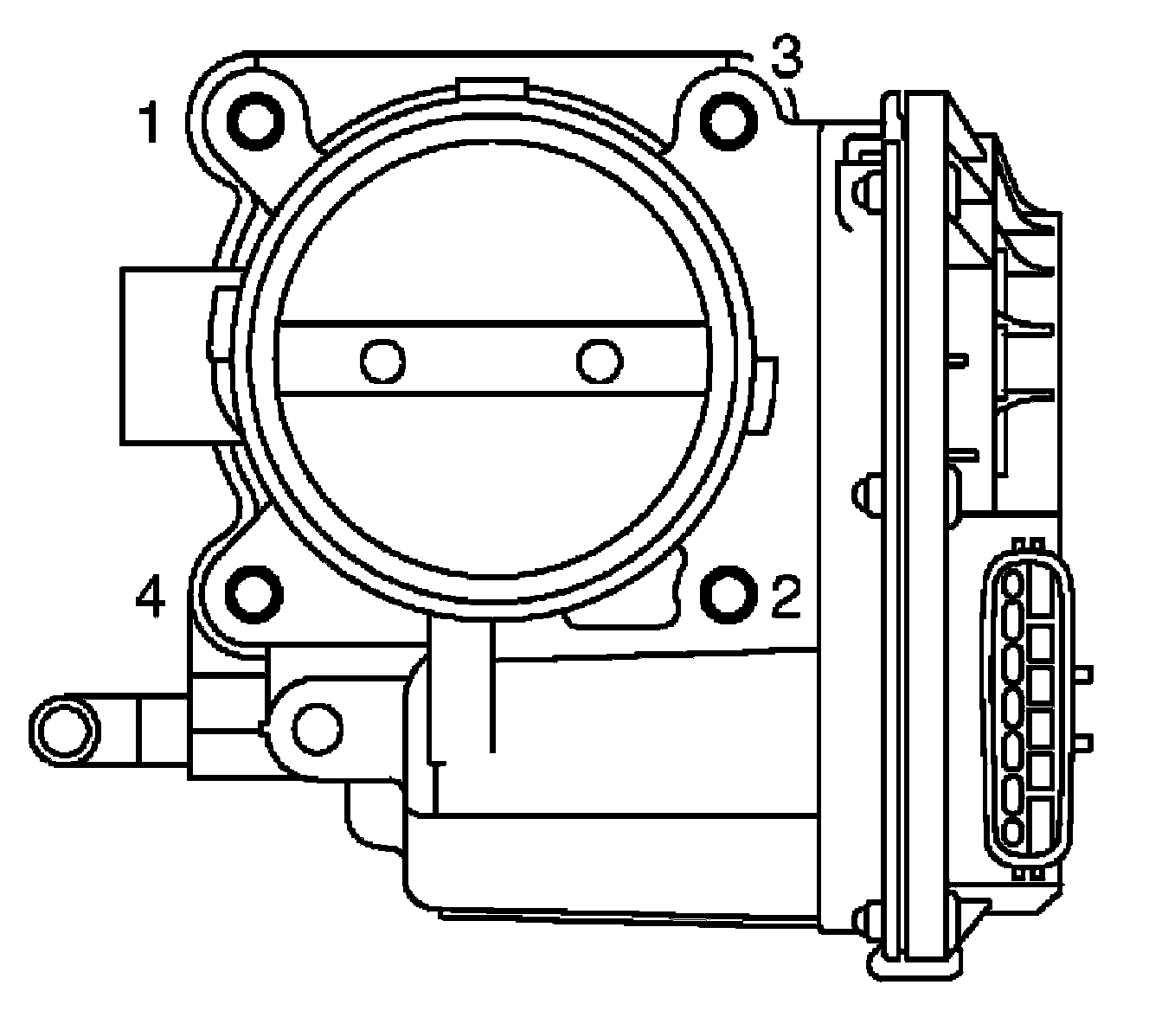
Intake Manifold
Intake Manifold
Intake manifold
Intake manifold
bolts
9.4 Nm (0.96 kg-m, 83 in-lb)
No. 6 means double tightening of bolt No. 1
Throttle body
10.0 Nm (1.0 kgf-m, 7 ft lb)