Curiosii for ever!
: Car repair manuals for everyone.
Home
>>
Suzuki Truck
>>
2009
>>
XL-7 4WD V6-3.6L
>>
Repair and Diagnosis
>>
Relays and Modules
>>
Relays and Modules - Restraints and Safety Systems
>>
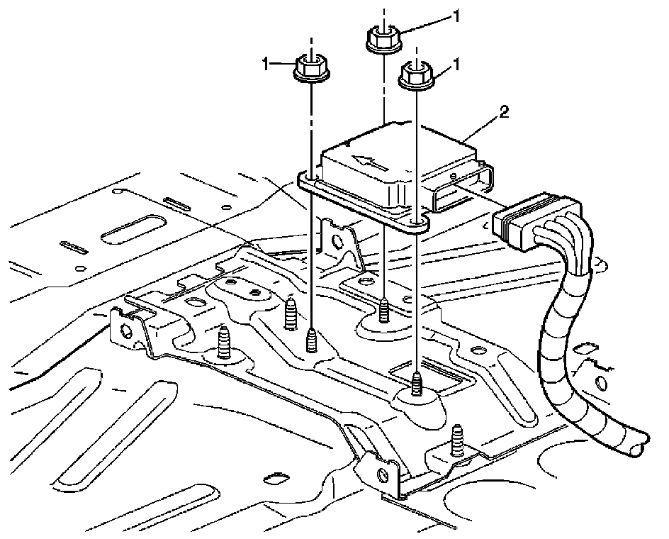
Air Bag Control Module
>>
Service and Repair
Air Bag Control Module: Service and Repair