Curiosii for ever!
: Car repair manuals for everyone.
Home
>>
Suzuki Truck
>>
2009
>>
XL-7 4WD V6-3.6L
>>
Repair and Diagnosis
>>
Diagrams
>>
Exploded Views
>>
Automatic Transmission/Transaxle
>>
Disassembled Views
>>
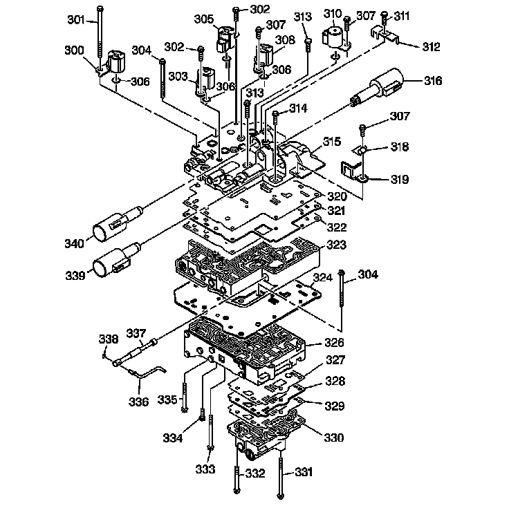
Control Valve Body Assembly
Control Valve Body Assembly