Curiosii for ever!: Car repair manuals for everyone.

Control Module HVAC

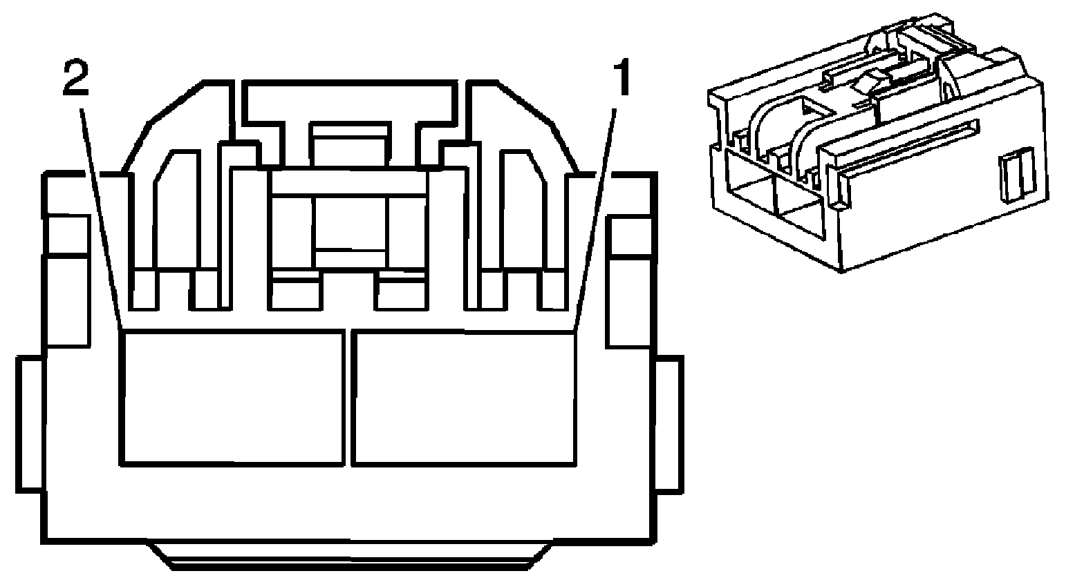
Blower Motor Control Module X1


Blower Motor Control Module X1:






Connector Part Information
OEM: 15226103
Service: 88988507
Description: 2-Way F (L-GY)

Terminal Part Information
Terminal/Tray: 7116-4122-02/10
Core/Insulation Crimp: A/B
Release Tool/Test Probe: 12094430/J-35616-42 (RD)

Blower Motor Control Module X1:






Blower Motor Control Module X2

Blower Motor Control Module X2:






Connector Part Information
OEM: 7283-9749-30
Service: -
Description: 6-Way F YESC Kaizen series (BK)

Terminal Part Information
Pins: 3
Terminal/Tray: 12191812/19
Core/Insulation Crimp: E/C
Release Tool/Test Probe: 15315247/J-35616-2A (GY)
Pins: 5, 6
Terminal/Tray: 7116-4122-02/10
Core/Insulation Crimp: A/B
Release Tool/Test Probe: 12094430/J-35616-42 (RD)

Blower Motor Control Module X2:






Blower Motor Control Module - Auxiliary X1 (C69)

Blower Motor Control Module - Auxiliary X1 (C69):






Connector Part Information
OEM: 10846816
Service: 88988507
Description: 2-Way F 6.3 Series (L-GY)

Terminal Part Information
Terminal/Tray: See Terminal Repair Kit
Core/Insulation Crimp: See Terminal Repair Kit
Release Tool/Test Probe: See Terminal Repair Kit

Blower Motor Control Module - Auxiliary X1 (C69):






Blower Motor Control Module - Auxiliary X2 (C69)

Blower Motor Control Module - Auxiliary X2 (C69):






Connector Part Information
OEM: 13520671
Service: -
Description: 6-Way F GT 150 6.3 Series (BK)

Terminal Part Information
Terminal/Tray: See Terminal Repair Kit
Core/Insulation Crimp: See Terminal Repair Kit
Release Tool/Test Probe: See Terminal Repair Kit

Blower Motor Control Module - Auxiliary X2 (C69):