Curiosii for ever!: Car repair manuals for everyone.

Control Module, A/T

Transmission Control Module (TCM) X1

Transmission Control Module (TCM) X1:






Connector Part Information
OEM: 15476346
Service: 19151494
Description: 20-Way F GT 150 Sealed (L-GY)

Terminal Part Information
Terminal/Tray: 15326267/19
Pins: 1-2, 5, 12-16
Core/Insulation Crimp: E/4 Pins: 18-19
Core/Insulation Crimp: E/1
Release Tool/Test Probe: 15315247/J-35616-2A (GY)

Transmission Control Module (TCM) X1:






Transmission Control Module (TCM) X2

Transmission Control Module (TCM) X2:






Connector Part Information
OEM: 7183-6563-30
Service: Non-Serviceable
Description: 4-Way M (BK)

Terminal Part Information
Terminal/Tray: Non-Serviceable
Core/Insulation Crimp: Non-Serviceable
Release Tool/Test Probe: Non-Serviceable

Transmission Control Module (TCM) X2:






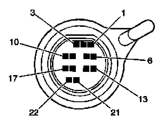
Transmission Control Module (TCM) X3

Transmission Control Module (TCM) X3:






Connector Part Information
OEM: 61890031
Service: Non-Serviceable
Description: Conn 22-Way M (D-GR)

Terminal Part Information
Terminal/Tray: Non-Serviceable
Core/Insulation Crimp:
Core/Insulation Crimp: Non-Serviceable
Release Tool/Test Probe: Non-Serviceable

Transmission Control Module (TCM) X3: