Curiosii for ever!: Car repair manuals for everyone.

System Specifications

Distortion of mating surface of cylinder head and cylinder head gasket
Limit: 0.03 mm (0.0011 in.)
Distortion of seating face of intake manifold and exhaust manifold on cylinder head
Limit: 0.05 mm (0.0019 in.)

Exhaust camshaft timing sprocket bolt 60 N-m (6.1 kgf-m, 44.5 lbf-ft)





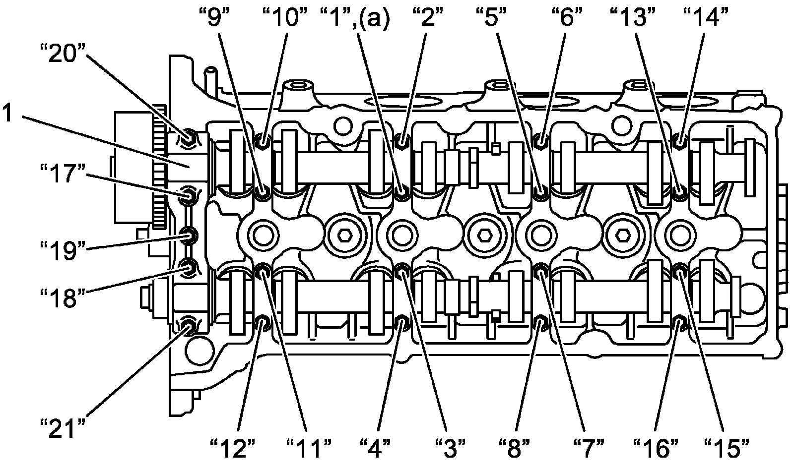
Camshaft housing bolt* 11 N-m (1.1 kgf-m, 8.5 lbf-ft)





Cylinder head bolt * 20 Nm -> 40 Nm -> +60° -> +80° (2.0 kgf-m -> 4.1 kgf-m -> +60° -> +80°, 15.0 lbf-ft -> 29.5 lbf-ft -> +60° ->+80°)

If cylinder head bolts are reused, check them for deformation.

For fastener with * (asterisk) below, be sure to tighten it according to specified procedure in "Repair Instructions".