Curiosii for ever!: Car repair manuals for everyone.

System Specifications

Piston pin clearance in connecting rod small-end
Standard: 0.003 - 0.017 mm (0.0002 - 0.0006 in.)
Limit: 0.040 mm (0.0015 in.)
Piston pin clearance in piston
Standard: 0.010 - 0.016 mm (0.00040 - 0.00062 in.)
Limit: 0.05 mm (0.0019 in.)
Small-end bore 21.003 - 21.011 mm (0.82689 - 0.83720 in.)
Piston pin outside diameter 20.994 - 21.000 mm (0.82654 - 0.82677 in.)
Diameter of piston pin hole in piston 21.007 - 21.013 mm (0.82705 - 0.82728 in.)

Connecting Rod
Big-end side clearance
Standard: 0.25 - 0.40 mm (0.0099 - 0.0157 in.)

Connecting rod alignment
Limit on bow: 0.05 mm (0.0019 in.)
Limit on twist: 0.10 mm (0.0039 in.)





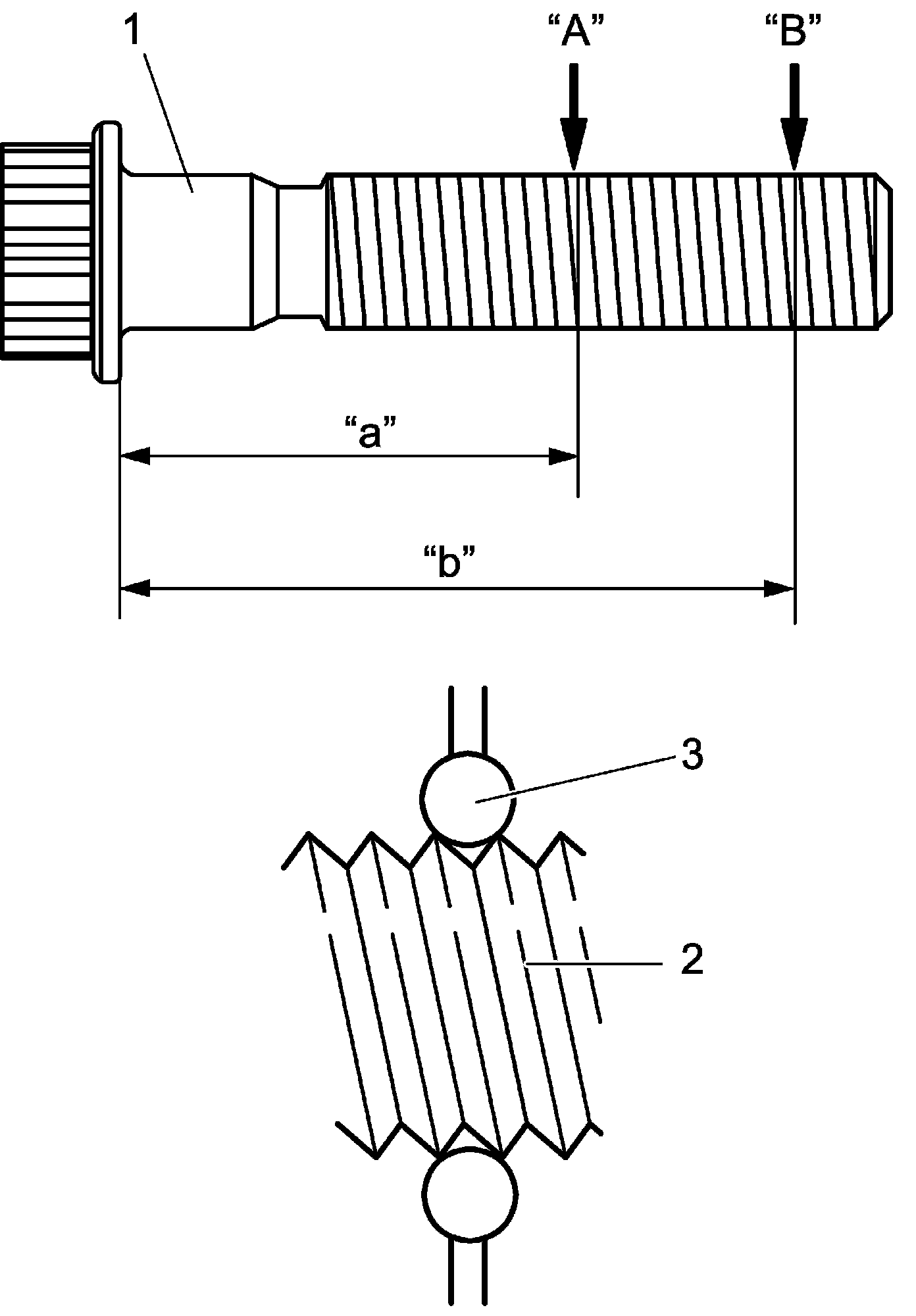
Connecting rod bolt measurement points
"a": 28.5 mm (1.12 in.)
"b": 42.0 mm (1.65 in.)

Connecting rod bolt diameter difference
Limit ("A" - "B"): 0.05 mm (0.0019 in.)

Cylinder bore diameter
Limit: 92.050 mm (3.6240 in.)
Cylinder bore roundness ([3] - [4])
Limit: 0.020 mm (0.00078 in.)
Cylinder bore taper ([1] - [2])
Limit: 0.013 mm (0.00051 in.)

New piston diameter standard size 91.990 - 92.020 mm
Piston clearance
Limit: 0.12 mm (0.0047 in.)

Piston diameter limit size





Ring groove clearance





Piston Ring end Gap





Cylinder block flatness
Limit: 0.03 mm (0.001 in.)

Stamped number for crankshaft journal diameter is "4", and stamped alphabet for cylinder block journal inside diameter is "A". Standard: 0.019 - 0.031 mm (0.00075 - 0.00122 in.)
Stamped number for crankshaft journal diameter is "9", and stamped alphabet for cylinder block journal inside diameter is "F". Standard: 0.025 - 0.037 mm (0.00098 - 0.00145 in.)

Main bearing clearance
Standard: 0.022 - 0.034 mm (0.00087 - 0.00133 in.)
Limit: 0.050 mm (0.00196 in.)

Finished crankshaft journal diameter 52.232 - 52.250 mm (2.05638 - 2.05708 in.)





Crank case bolt diameter measurement points
"a": 61.0 mm (2.40 in.)
"b": 98.0 mm (3.86 in.)





Crank case cap bolt diameter difference
Limit ("A" - "B"): 0.013 mm (0.0051 in.)

Crankshaft Journal diameter
Stamped number 4 51.997 - 52.000 mm (2.04713 - 2.04724 in.)
Stamped number 5 51.994 - 51.997 mm (2.04701 - 2.04712 in.)
Stamped number 6 51.991 - 51.994 mm (2.04689 - 2.04700 in.)
Stamped number 7 51.988 - 51.991 mm (2.04678 - 2.04688 in.)
Stamped number 8 51.985 - 51.988 mm (2.04666 - 2.04677 in.)
Stamped number 9 51.982 - 51.985 mm (2.04654 - 2.04665 in.)

Cylinder block journal inside diameter
Stamped number A 56.000 - 56.003 mm (2.20473 - 2.20484 in.)
Stamped number B 56.003 - 56.006 mm (2.20485 - 2.20496 in.)
Stamped number C 56.006 - 56.009 mm (2.20496 - 2.20507 in.)
Stamped number D 56.009 - 56.012 mm (2.20508 - 2.20519 in.)
Stamped number E 56.012 - 56.015 mm (2.20520 - 2.20531 in.)
Stamped number F 56.015 - 56.018 mm (2.20532 - 2.20543 in.)

Standard size crankshaft main bearing thickness
Painted Color Blue
Bearing Thickness 2.011 -2.014 mm (0.07918 - 0.7929 in)
Painted Color Yellow
Bearing thickness 2.008 - 2.011 mm (0.07906 - 0.07917 in)
Painted Color Colorless
Bearing thickness 2.005 - 2.008 mm (0.07894 - 0.07905 in)
Painted Color Black
Bearing thickness 2.002 - 2.005 mm (0.07882 - 0.07893 in)
Painted color Green
Bearing Thickness 1.999 - 2.002 mm (0.07870 - 0.07881 in)

Main bearing cross - reference selection table (Standard size)





Main bearing cross - reference table (Under size)





Undersize of crankshaft main bearing thickness





Crankshaft runout
Limit: 0.02 mm (0.0007 in.)

Crankshaft thrust play
Standard: 0.10 - 0.35 mm (0.0040 - 0.0137 in.)

Thrust bearing thickness
Standard size: 2.470 - 2.520 mm (0.973 - 0.9921 in.)
Oversize (0.125 mm, 0.00492 in.): 2.533 - 2.583 mm (0.0998 - 0.1016 in.)

Crankshaft journal outside diameter
Standard: 51.982- 52.000 mm (2.0466 - 2.0472 in)
Limit: 51.972 mm (2.0461 in.)





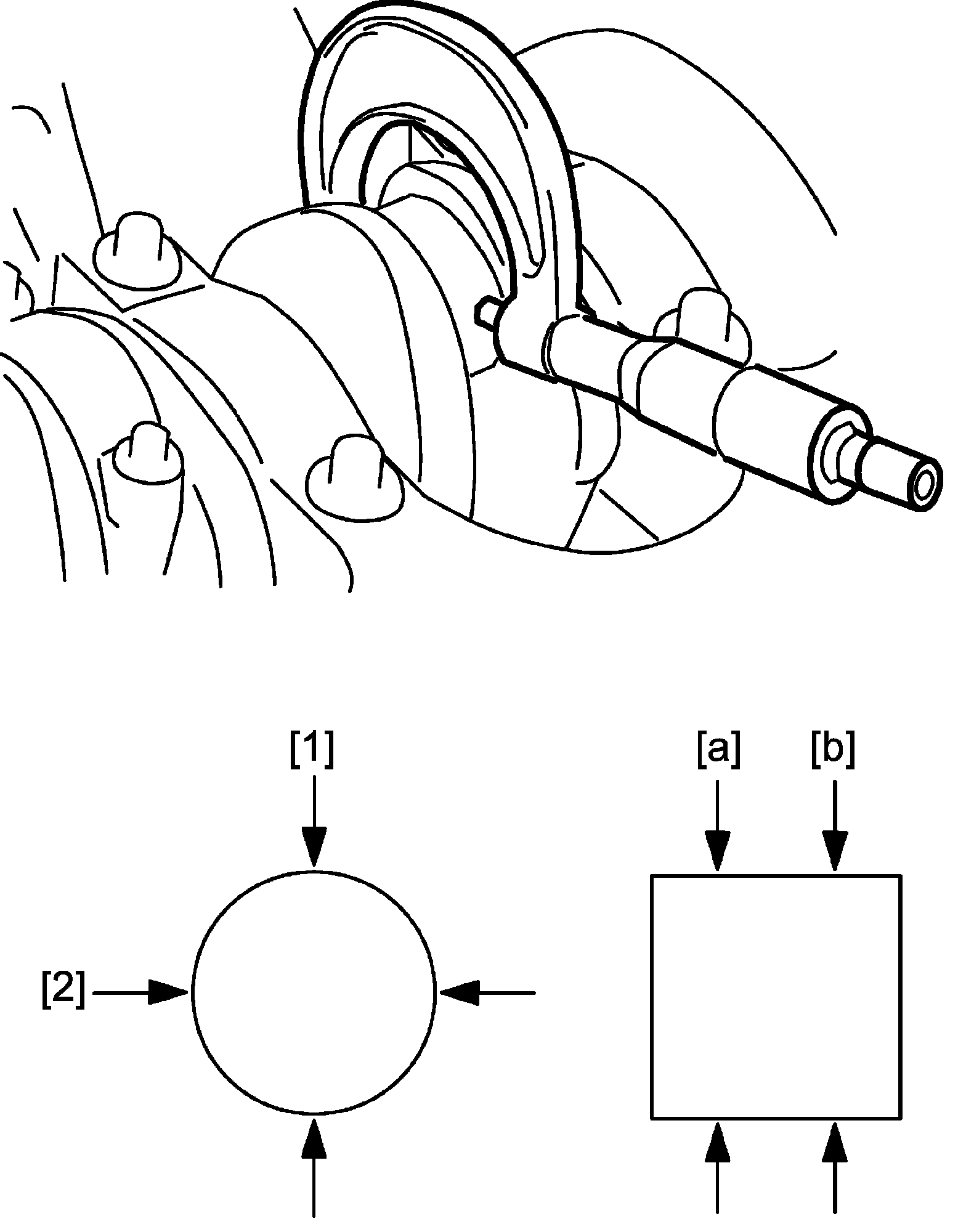
Crankshaft out-of-round (A - B) and taper (a - b)
Limit: 0.01 mm (0.0003 in.)





Crankshaft pin diameter
Standard: 49.982 - 50.000 mm (1.96780 - 1.96850 in)
Crankshaft pin taper ([a] -[b]) and out-of-round ([1] -[2])
Limit: 0.01 mm (0.0003 in.)

Connecting rod bearing clearance
Standard: 0.045 - 0.063 mm (0.0018 - 0.0024 in.)
Limit: 0.065 mm (0.0025 in.)

Connecting rod big-end inside diameter





Crankshaft Pin diameter





Connecting rod bearing cross - reference selection table





Crankshaft pulley bolt 150 N-m (15.3 kgf-m, 111.0 lbf-ft)

Connecting rod bolt* 15 Nm -> +45° -> +45° (1.5 kgf-m -> +45° -> +45°, 11.0 lbf-ft -> +45° -> +45°





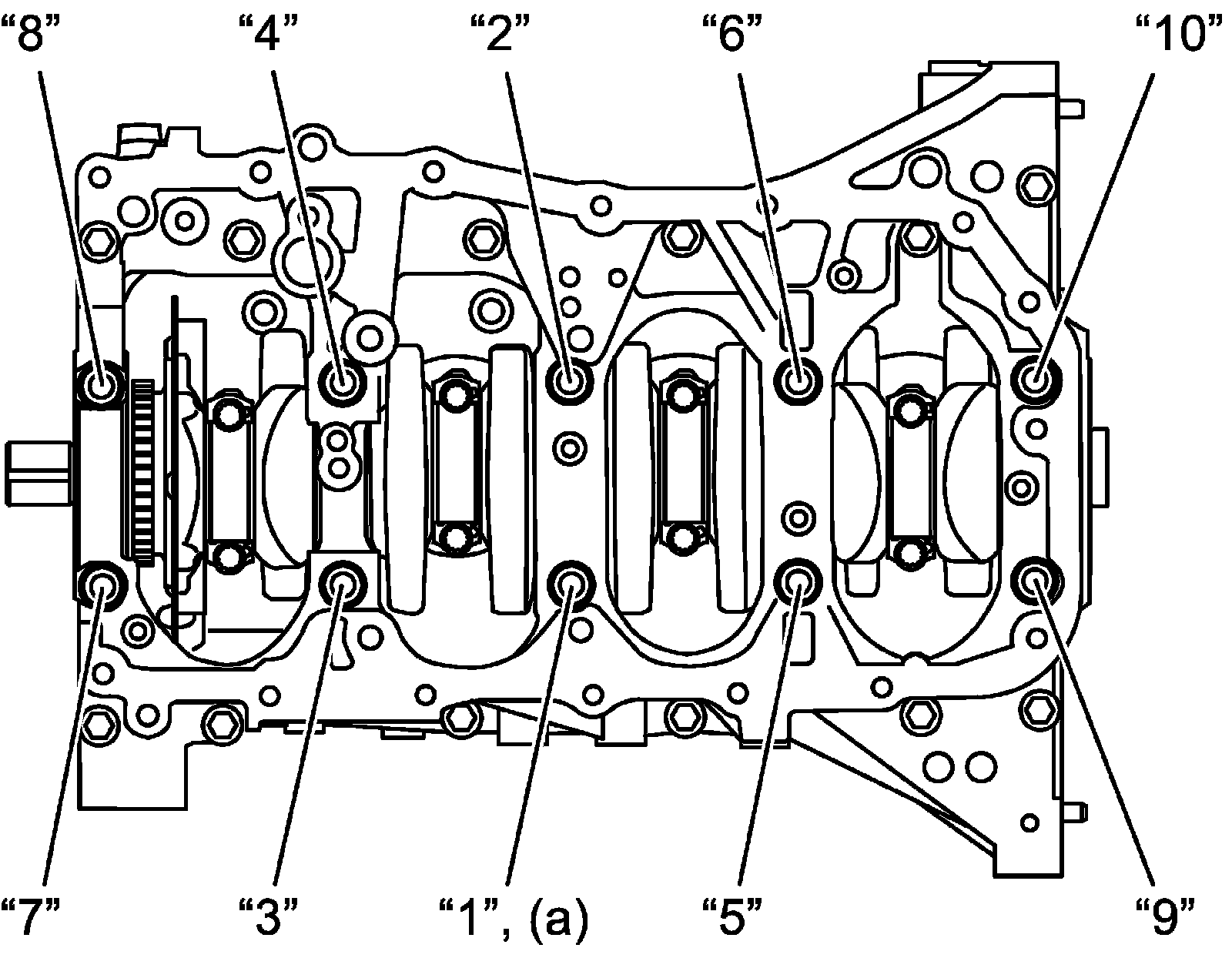
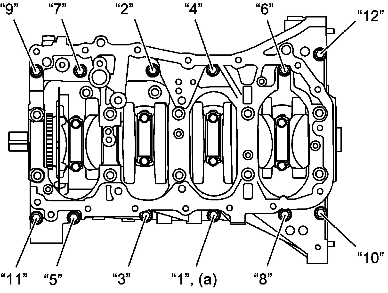
Crank case bolt No.1* 50 Nm -> 0 Nm -> 20 Nm -> 35 Nm -> 40° -> 40° (5.1 kgf-m -> 0 kgf-m -> 2.0 kgf-m -> 3.6 kgf-m -> 40° -> 40 °, 37.0 lbf-ft -> 0 lbf-ft -> 15.0 lbf-ft -> 26.0 lbf-ft -> 40° -> 40°)





Crank case bolt No.2* 25 Nm (2.5 kg-m, 18.5 lbf-ft)

For fastener with * (asterisk) below, be sure to tighten it according to specified procedure in "Repair Instructions".