Curiosii for ever!: Car repair manuals for everyone.

Reference Waveform

Inspection of ECM and Its Circuits

Precautions for ECM Circuit Inspection Precautions For ECM Circuit Inspection

CAUTION: ECM and its circuits can be checked by measuring voltage and pulse signal with special tool connected. It is strictly prohibited to connect voltmeter or ohmmeter to ECM with ECM connectors disconnected from it.

Reference waveform

NOTE:
- Waveform analysis is as follows.






- Waveform might change for measurement condition and vehicle'spec.






Measurement condition

- Engine: Idle speed after warm-up






Fuel Injector No.1 Signal and Ignition Coil No.1 Signal















Measurement condition

- Engine: Idle speed after warm-up






Fuel Injector No.2 Signal and Ignition Coil No.2 Signal















Measurement condition

- Engine: Idle speed after warm-up






Fuel Injector No.3 Signal and Ignition Coil No.3 Signal















Measurement condition

- Engine: Idle speed after warm-up






Fuel Injector No.4 Signal and Ignition Coil No.4 Signal















Measurement condition

- Engine: Idle speed after warm-up






Generator Control Signal and Generator Field Coil Monitor Signal









Measurement condition

- Engine: Idle speed after warm-up
- Lighting switch: OFF
- A/C switch: OFF
- Blower speed selector: OFF
- Rear defogger switch: OFF






Measurement condition

- Engine: Idle speed after warm-up
- Lighting switch: ON
- A/C switch: ON
- Blower speed selector: 4th position or higher
- Rear defogger switch: ON






HO2S Signal and HO2S Heater Signal









Measurement condition

- Engine: Idle speed after warm-up






Measurement condition

- Engine: Racing after warm-up











Measurement condition

- Engine: Idle speed after warm-up











Measurement condition

- Engine: Idle speed after warm-up











Measurement condition

- Engine: Idle speed after warm-up











Measurement condition

- Engine: Idle speed immediately after start-up











Measurement condition

- Engine: Racing after warm-up











Measurement condition

- Engine: Racing after warm-up











Measurement condition

- Ignition switch: ON
- Accelerator pedal: Idle position






Measurement condition

- Ignition switch: ON
- Accelerator pedal: Fully depressed position






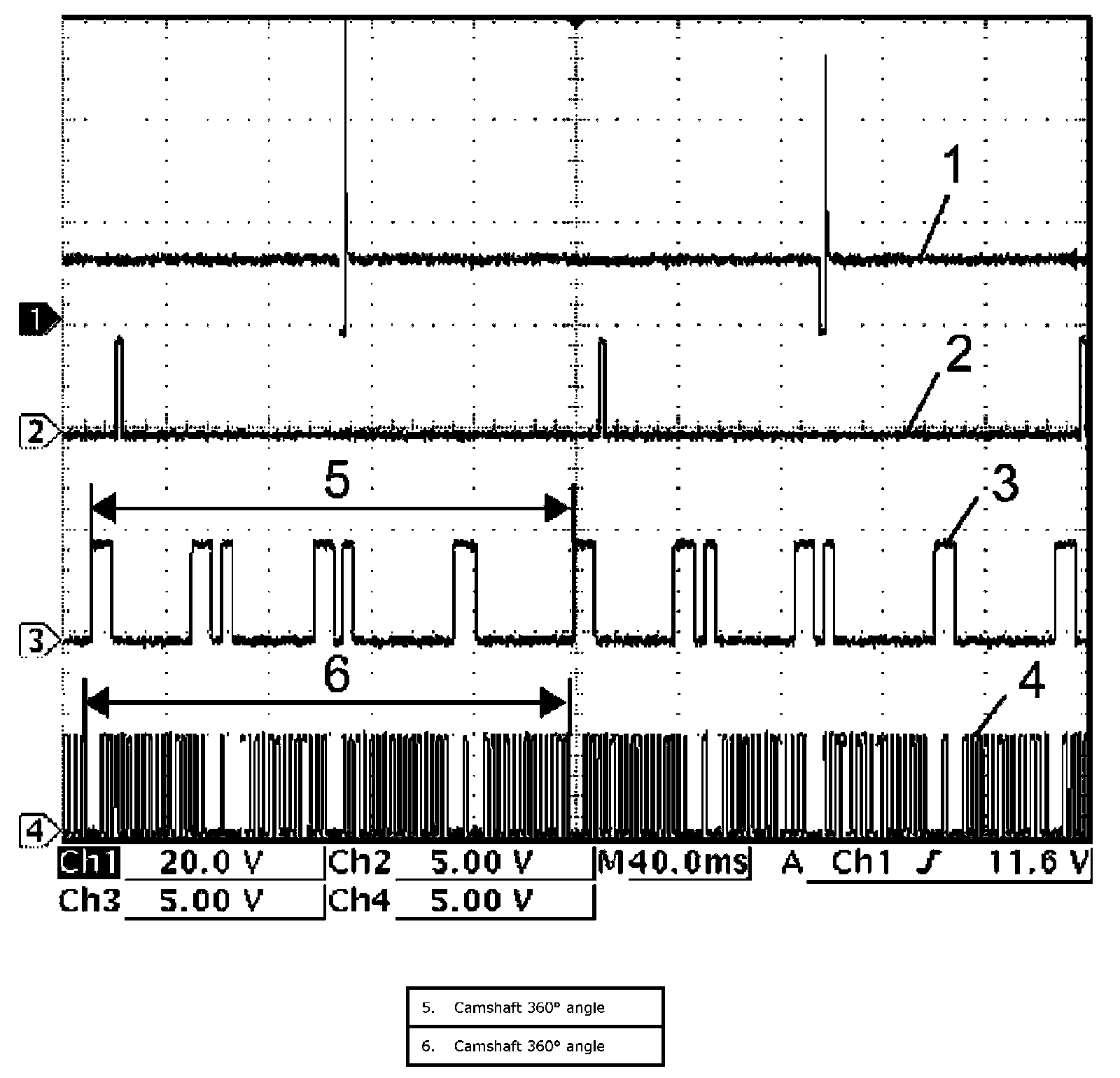
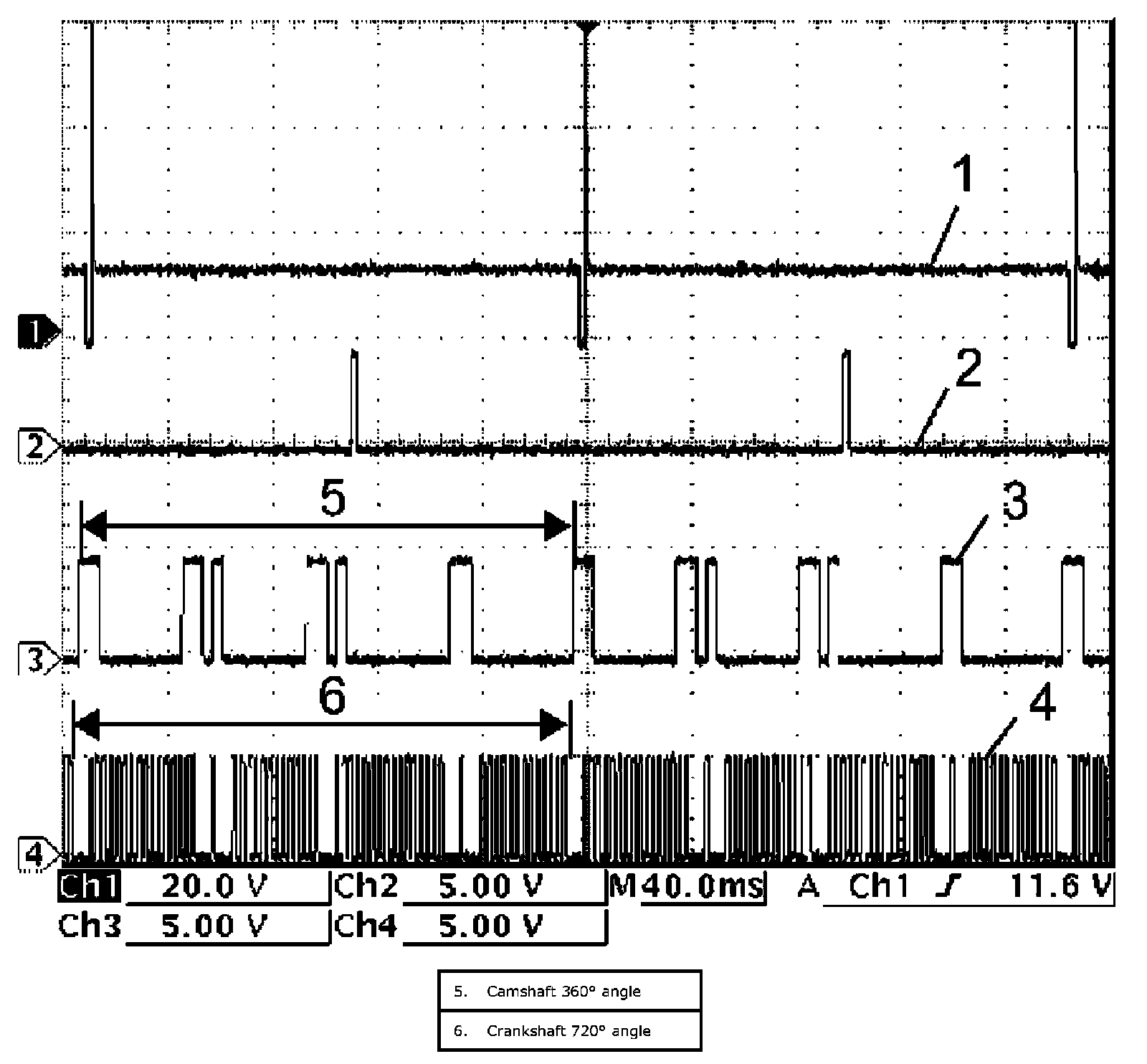
CKP Sensor Signal and CMP Sensor Signal









Measurement condition

- Engine: Idle speed after warm-up











Measurement condition

- Engine: Running at 4,000 rpm after warmed up











Measurement condition

- Ignition switch: OFF --> ON --> START











Measurement condition

- Engine: When engine is cool and running at idle speed






Measurement condition

- Engine: Idle speed after warm-up






CAN Communication Signal









Measurement condition

- Engine: Stop
- Ignition switch: ON











Measurement condition

- Ignition switch: ON






Measurement condition

- EVAP canister air (vent) valve: Operated (using active test of SUZUKI scan tool)