Curiosii for ever!: Car repair manuals for everyone.

Sub Fuel Level Sensor Removal and Installation

Sub Fuel Level Sensor Removal and Installation

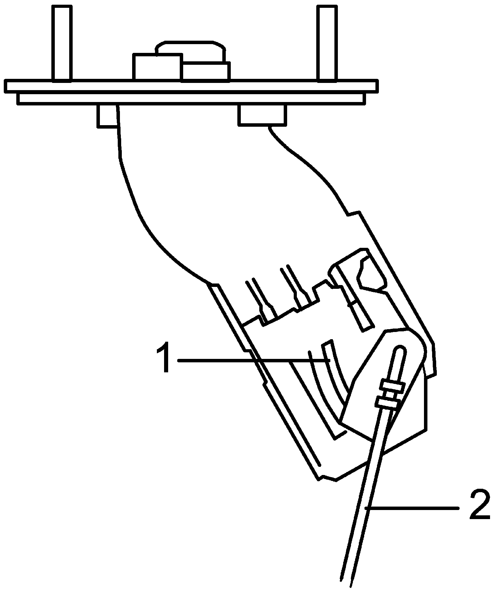
CAUTION: Do not touch resister plate (1) and deform arm (2). It may cause sub fuel level sensor to fail.






Removal

1. Remove fuel tank from vehicle.
2. Disconnect sub fuel level sensor connector (1).
3. Remove sub fuel level sensor (2) from fuel tank.






Installation

Reverse removal procedure for installation noting the following.
- Check that mating surface of sub fuel level sensor is clean.
- Replace gasket with new one using care not to damage it.
- Tighten sub fuel level sensor screws to specified torque.

Tightening torque
Sub fuel level sensor screw: 1.6 N.m (0.16 kg-m, 1.5 lbf-ft)