Curiosii for ever!: Car repair manuals for everyone.

Main Fuel Level Sensor Removal and Installation

Main Fuel Level Sensor Removal and Installation

CAUTION:
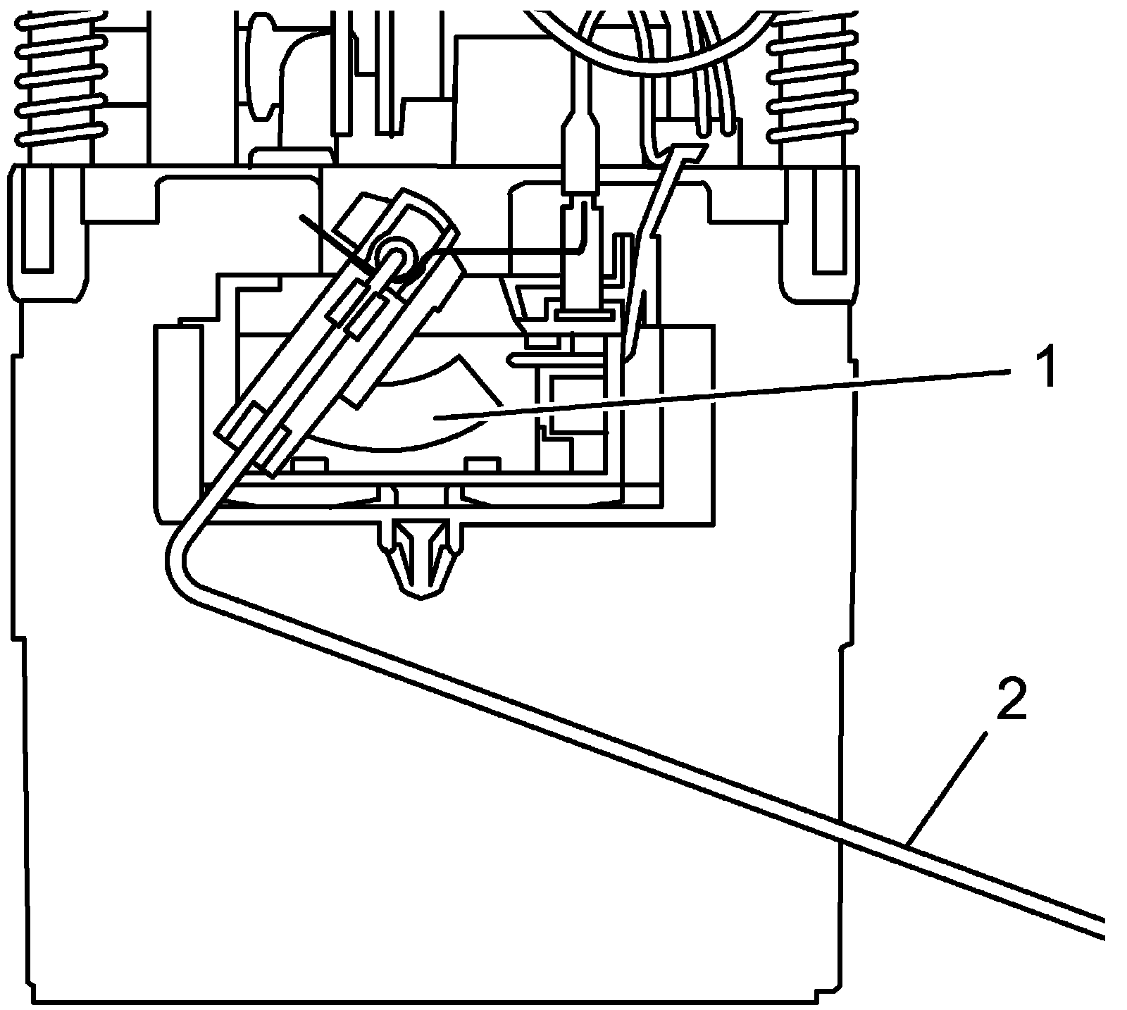
- Do not touch resister plate (1) and deform arm (2). It may cause main fuel level sensor to fail.
- Be very careful not to cause damage to fuel tube installed section (sealed section in bore). If it be damaged, replace it with new one, or fuel will leak from the part.







Removal

1. Remove fuel pump assembly from fuel tank.
2. Disconnect main fuel level sensor connector (1).
3. With pressing snap-fit part (2), remove main fuel level sensor (3) from fuel pump (4) by sliding it in arrow direction as shown in figure.






Installation

Reverse removal procedure for installation.