Curiosii for ever!: Car repair manuals for everyone.

Mass Air Flow (MAF) & Intake Air Temperature (IAT) Sensor Inspection

MAF (Mass Air Flow) and IAT (Intake Air Temperature) Sensor Inspection

CAUTION:
- When servicing MAF and IAT sensor, be sure to observe the following items.
- Do not disassemble MAF and IAT sensor.
- Do not expose MAF and IAT sensor to any shock. If it has been dropped, it should be replaced.
- Do not clean MAF and IAT sensor.
- Do not blow compressed air using air gun or the like.
- Do not put finger or any other object into MAF and IAT sensor.
- Do not heat MAF and IAT sensor more than 100 degree C (212 degree F). Otherwise, it will be damaged.


IAT sensor inspection
1. Remove MAF and IAT sensor.
2. Check sensor O-ring (1) for damage and deterioration. Replace as necessary.
3. Measure resistance between sensor terminals "1" and "2" while blowing hot air to temperature sensing part (2) of MAF and IAT sensor (3) using hot air drier (4).
If faulty condition is found, replace MAF and IAT sensor.

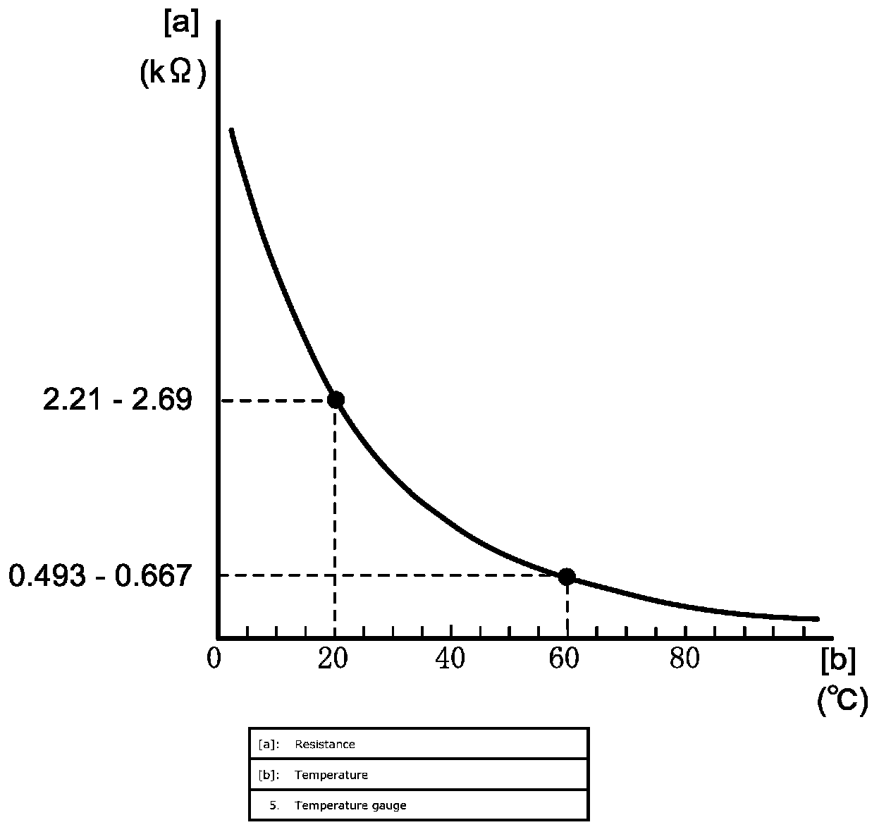
Intake air temperature sensor resistance
-20 °C (-4 °F): 13.6 - 18.4 kohms
20 °C (68 °F): 2.21 - 2.69 kohms
60 °C (140 °F): 0.439 - 0.667 kohms










MAF sensor inspection
1. Remove MAF and IAT sensor.
2. Connect battery (2) and voltmeter (3) to MAF and IAT sensor (1) as shown in figure.
3. Check that voltage varies depending on amount of blowing air as the following graph. If faulty condition is found, replace MAF and IAT sensor.