Curiosii for ever!: Car repair manuals for everyone.

System Specifications

Cylinder block flatness
Limit: 0.05 mm (0.0020 in.)

Cylinder bore diameter
Standard: 88.992 - 89.008 mm (3.5036 - 3.5043 in.)
Limit: 89.050 mm (3.5059 in.)
Cylinder out-of-roundness
Limit: 0.020 mm (0.0008 in.)
Cylinder taper
Limit: 0.013 mm (0.0005 in.)

Main bearing clearance
Standard: 0.032 - 0.083 mm (0.0013 - 0.0033 in.)
Limit: 0.083 mm (0.0033 in.)

Crankshaft runout
Limit: 0.03 mm (0.0012 in.)

Crankshaft journal diameter
Standard: 67.992 - 68.008 mm (2.6769 - 2.6775 in.)





Crankshaft out-of-round (A - B) and taper (a - b)
Limit: 0.01 mm (0.0004 in.)





Crank pin diameter
Standard: 55.992 - 56.008 mm (2.2044 - 2.2050 in.)
Crank pin taper (a, b) and out-of-round (A - B)
Limit: 0.01 mm (0.0004 in.)

Connecting rod bearing clearance
Standard: 0.027 - 0.081 mm (0.0011 - 0.0032 in.)
Limit: 0.081 mm (0.0032 in.)

Piston bore 24.004 - 24.009 mm (0.94503 - 0.94523 in.)

Connecting Rod
Big-end side clearance
Standard: 0.095 - 0.355 mm (0.0037 - 0.0140 in.)
Limit: 0.42 mm (0.0165 in.)

Connecting rod alignment
Limit on bow: 0.05 mm (0.0020 in.)
Limit on twist: 0.10 mm (0.0039 in.)

Piston diameter specification
Standard size: 88.949 - 88.961 mm (3.5019 - 3.5024 in.)
Piston clearance
Standard: 0.031 - 0.059 mm (0.0012 - 0.0023 in.)

Piston Ring Groove Clearance
1st Ring
Standard 0.04 - 0.08 mm ( 0.0015 - 0.0031 in.)
Limit 0.12 mm (0.0047 in.)
2nd ring
Standard 0.03 - 0.07 mm (0.0012 - 0.0028 in.)
Limit 0.10 mm (0.0039 in.)
Oil ring
Standard 0.04 - 0.12 mm (0.0016 - 0.0047 in.)
Limit --

Piston ring end gap
Top ring
Standard 0.20 - 0.32 mm (0.0079 - 0.0126 in.)
Limit 0.7 mm (0.0276 in.)
2nd ring
Standard 0.33 - 0.45 mm (0.0130 - 0.0177 in.)
Limit 1.0 mm (0.0394 in.)
Oil ring
Standard 0.10 - 0.50 mm (0.0039 - 0.0197 in.)
Limit 1.2 mm (0.0472 in.)

Connecting rod bolt*: 30 Nm -> 0 Nm -> 25 Nm -> +110° (3.1 kgf-m 0 kgf-m -> 2.5 kgf-m -> +110° , 22.5 lbf-ft 0 lbf-ft -> 18.5 lbf-ft -> +110°)





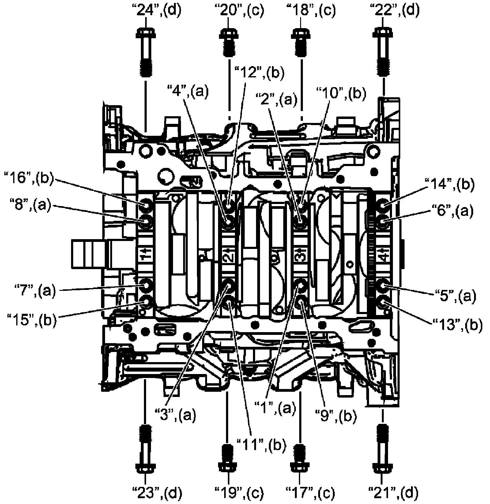
Main bearing cap bolt No.1* 20 Nm -> +80° (2.0 kgf-m -> +80° , 15.0 lbf-ft -> +80°)
Main bearing cap bolt No.2* 15 Nm -> +110° (1.5 kgf-m -> +110° , 11.0 lbf-ft -> +110°)
Main bearing cap side bolt No.1* 30 Nm -> +60° (3.1 kgf-m -> +60° , 22.5 lbf-ft -> +60°)
Main bearing cap side bolt No.2* 30 Nm -> +60° (3.1 kgf-m -> +60° , 22.5 lbf-ft -> +60°)

Crankshaft pulley bolt 120 N-m -> 0 N-m -> 100 N-m -> + 150 ° (12.2 kgf-m -> 10.2 kgf-m -> + 150°, 88.5 lbf-ft -> 0lbf-ft -> 74.0 lbf-ft -> + 150°

For fastener with * (asterisk) below, be sure to tighten it according to specified procedure in "Repair Instructions".