Curiosii for ever!
: Car repair manuals for everyone.
Home
>>
Suzuki Truck
>>
2009
>>
Grand Vitara 2WD V6-3.2L
>>
Repair and Diagnosis
>>
Powertrain Management
>>
Computers and Control Systems
>>
Description and Operation
>>
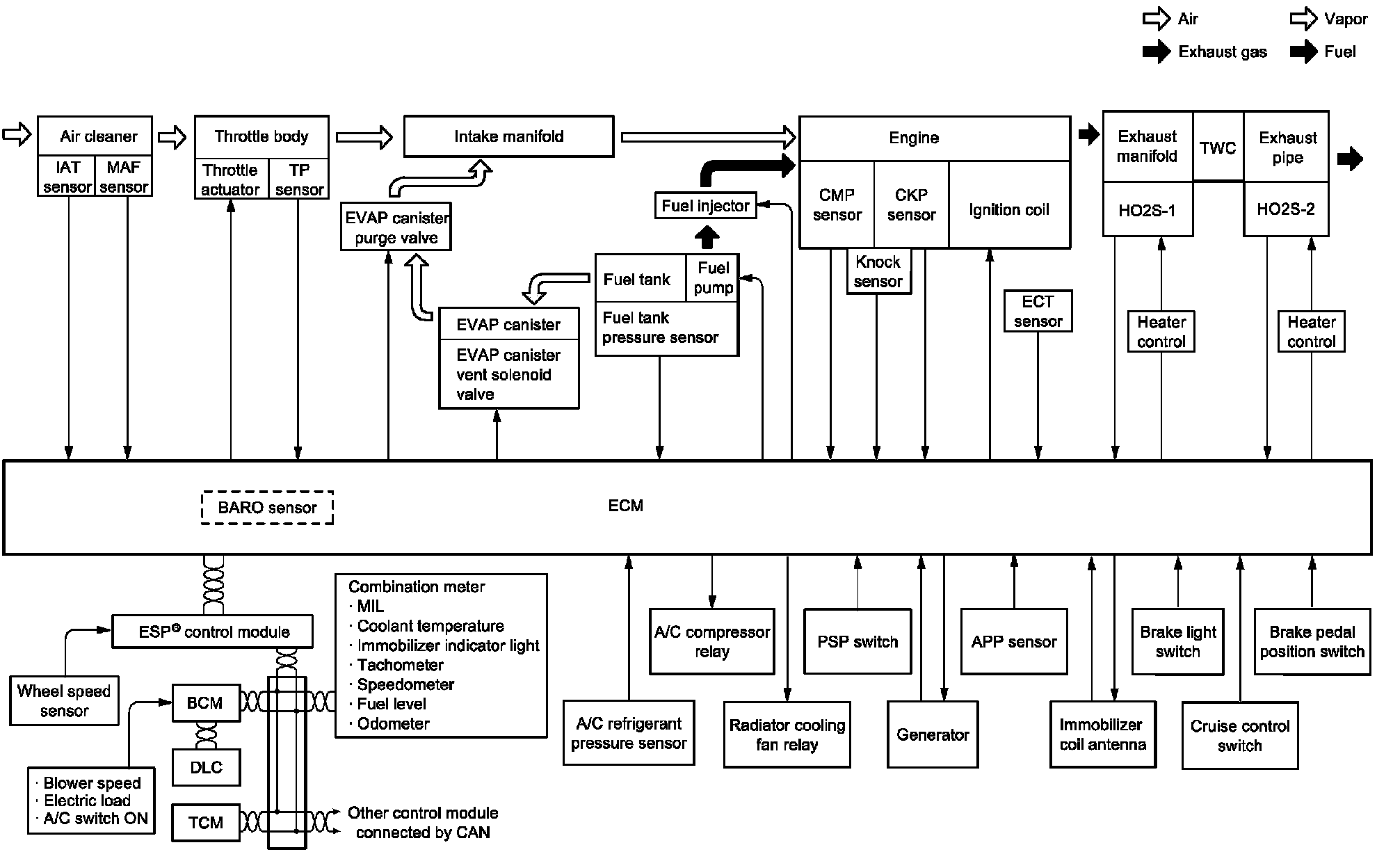
Engine and Emission Control System Flow Diagram
Engine and Emission Control System Flow Diagram
Engine and Emission Control System Flow Diagram