Curiosii for ever!: Car repair manuals for everyone.

Front Power Window Switch: Removal and Installation

Front Power Window Switch: Removal And Installation

REMOVAL

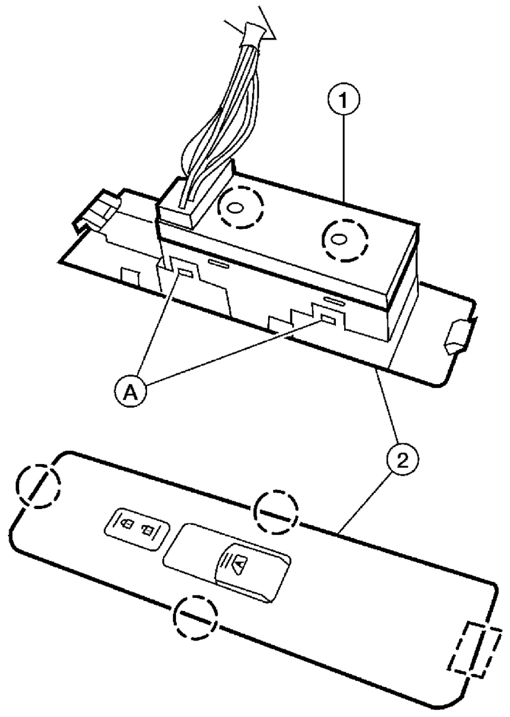
1. Remove the front power window switch finisher (2. from the front door finisher RH. Refer to [Door Finisher: Removal and Installation].







2. Release the four tabs (A), two on each side, then separate the front power window switch (1. from the finisher (2).

INSTALLATION

Installation is in the reverse order of removal.