Curiosii for ever!: Car repair manuals for everyone.

Battery Current Sensor: Description and Operation

Charging System: System Description

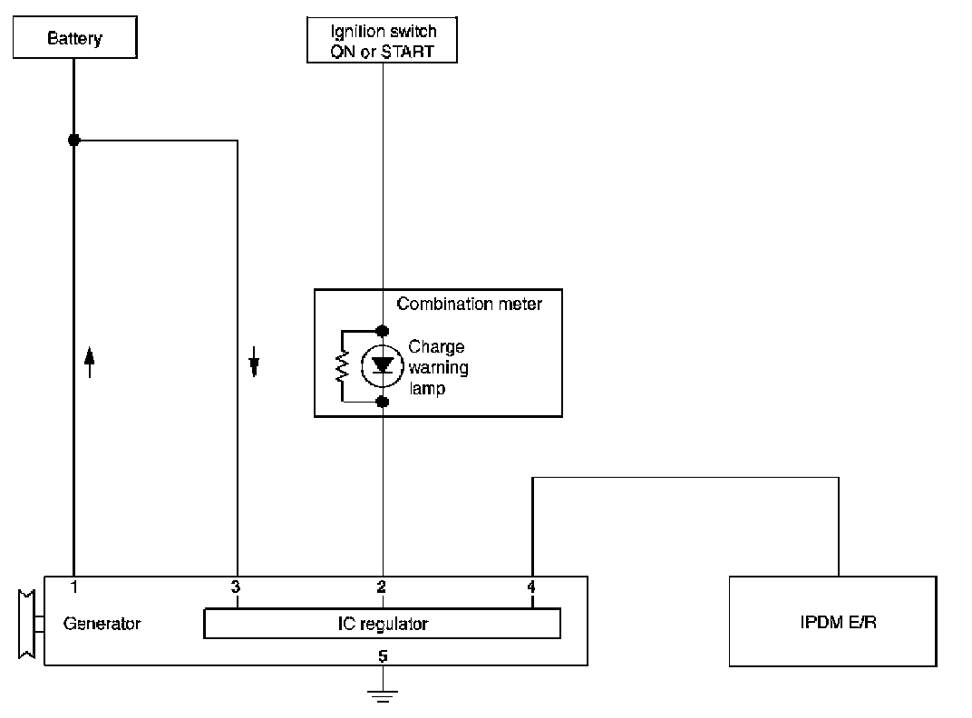
The generator provides DC voltage to operate the vehicle's electrical system and to keep the battery charged. The voltage output is controlled by the IC regulator.

Charging System: Component Description






Power Generation Voltage Variable Control System: System Description

Power generation variable voltage control system has been adopted. By varying the voltage to the generator, engine load due to power generation of the generator is reduced and fuel consumption is decreased.

NOTE: When any malfunction is detected in the power generation variable voltage control system, power generation is performed according to the characteristic of the IC regulator in the generator.

Power Generation Voltage Variable Control System: Component Description






Charging System: System Diagram






Power Generation Voltage Variable Control System: System Diagram