Transmission Control Module Installation
Transmission Control Module Installation1. Using an adjustable wrench on the manual shaft detent lever (710), turn the shaft clockwise until it stops.
2. Turn the shaft counter-clockwise one position to the neutral location. To verify turning the shaft in the correct direction, on the manual shaft detent lever (710) the reverse position is larger and more resistance can be felt.
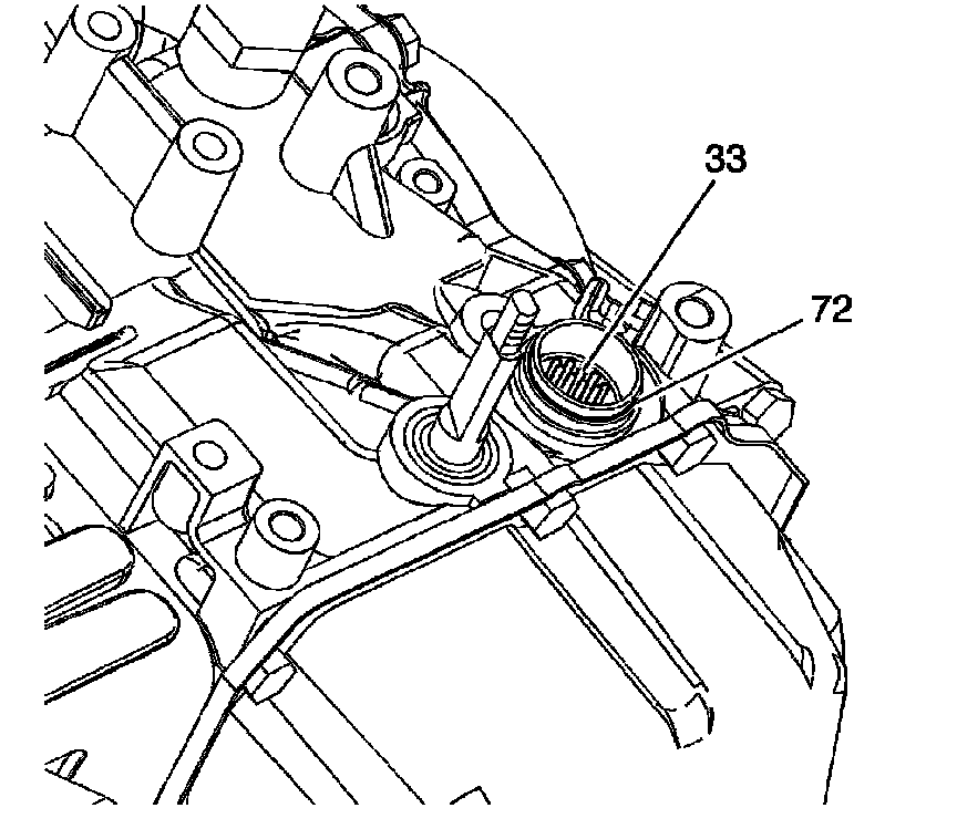
3. Inspect the condition of the connector pins on the wiring harness assembly (33) for foreign material, bent pins, or broken pins.
4. Ensure the TCM seal (72) is installed.
5. Turn the slot in the TCM to align the two marks. Do not turn more than 60 degrees.
6. Install the TCM (75) over the manual shaft detent lever (710) and into the wire connector.
CAUTION:
Refer to [Fastener Notice]
7. Install the three bolts (76).
Tightening torque
Tighten the TCM bolts to 25 Nm (18 ft. lbs.).