Curiosii for ever!
: Car repair manuals for everyone.
Home
>>
Suzuki Truck
>>
2008
>>
XL-7 2WD V6-3.6L
>>
Repair and Diagnosis
>>
Diagrams
>>
Exploded Views
>>
Engine
>>
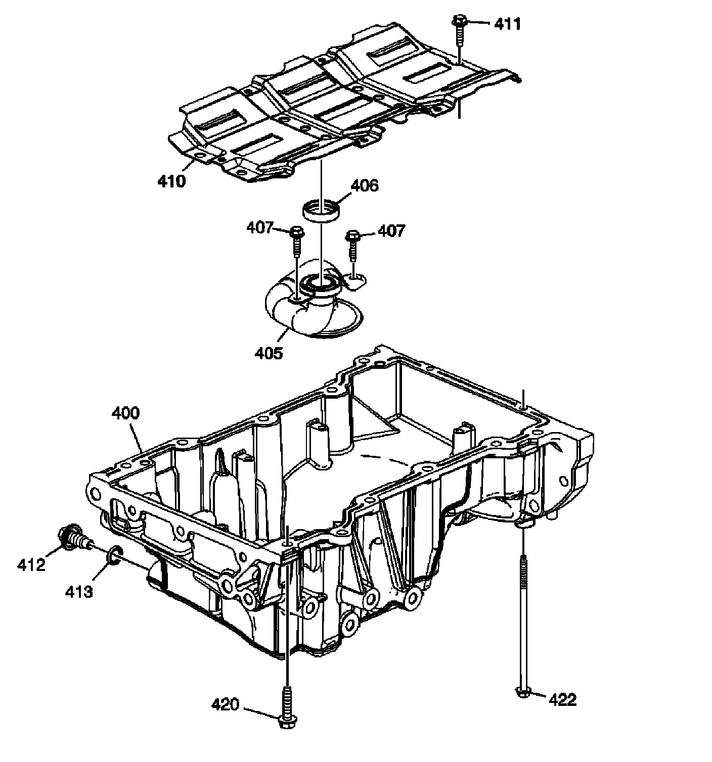
Oil Pan Assembly
Oil Pan Assembly