Curiosii for ever!: Car repair manuals for everyone.

Fuse Block - I/P

Fuse Block - I/P C1

Fuse Block - I/P C1 View:




Connector Part Information
OEM: 6098-5228
Service: 88988709
Description: 47-Way F LIF Series (GY)

Terminal Part Information
Pins: 46
Terminal/Tray: 7116-4122-02/10
Core/Insulation Crimp: A/B
Release Tool/Test Probe: 12094430/J-35616-42
(RD)
Pins: 3, 13, 13, 14, 24, 25
Terminal/Tray: 15304711/8
Core/Insulation Crimp: Pins 3, 13, 13 - E/A
Core/Insulation Crimp: Pins 14, 24, 25 - 2/A
Release Tool/Test Probe: 15315247/J-35616-4A
(PU)
Pins: 4, 5, 6, 8, 9, 15, 16, 18, 19, 20, 21, 21, 27, 28, 28, 28, 28, 29, 37, 39, 7, 32, 38
Terminal/Tray: 12191812/19
Core/Insulation Crimp: Pins 4, 5, 6, 8, 9, 15, 16, 18, 19, 20, 21, 21, 27, 28, 28, 28, 28, 29, 37, 39 - E/C
Core/Insulation Crimp: Pins 7, 32, 38 - C/A
Release Tool/Test Probe: 15315247/J-35616-2A
(GY)

Fuse Block - I/P C1 (Pin 1 To 28):




Fuse Block - I/P C1 (Pin 29 To 47):






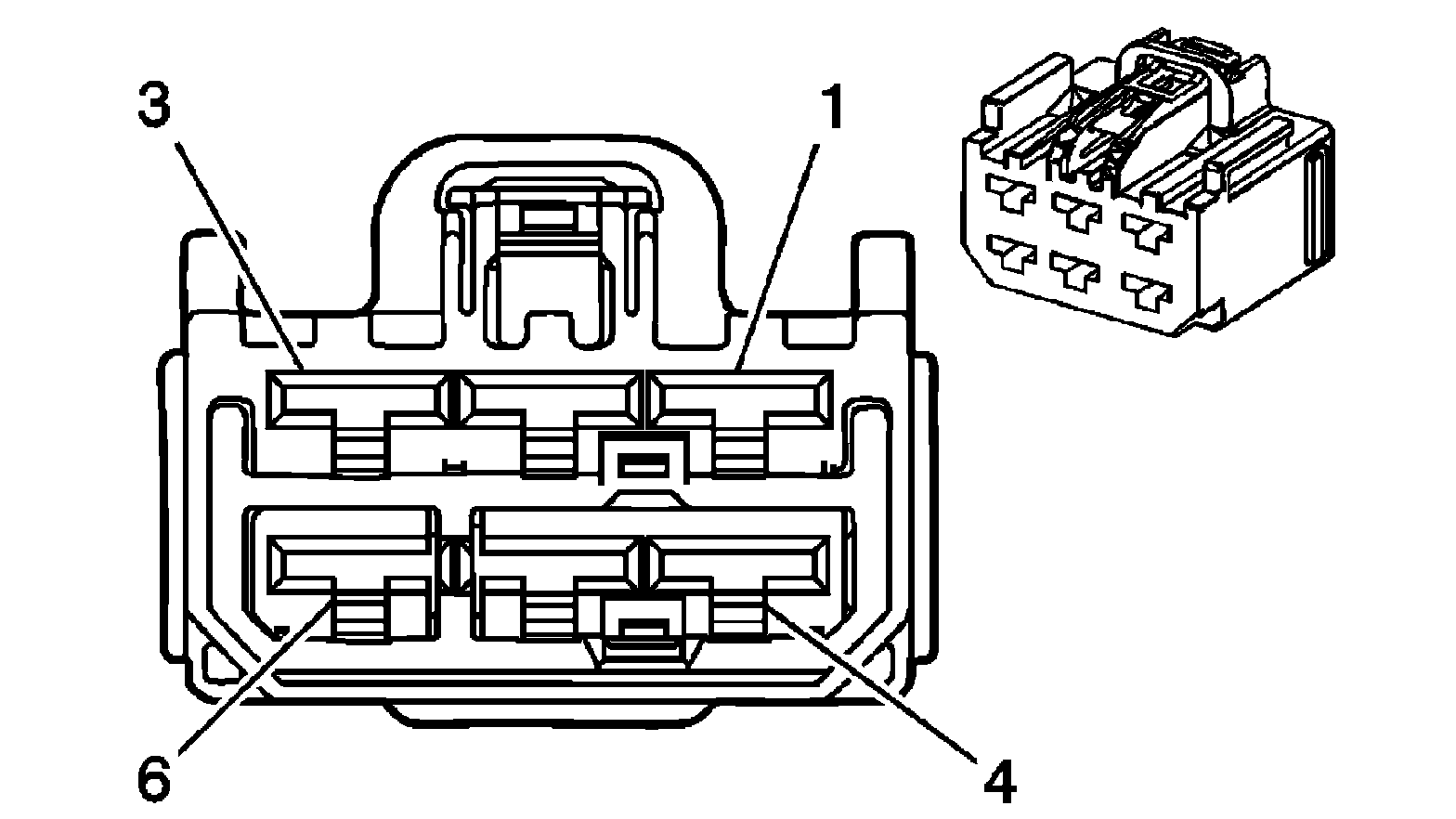
Fuse Block - I/P C2

Fuse Block - I/P C2 View:




Connector Part Information
OEM: 7283-5600-40
Service: -
Description: 6-Way F (L-GY)

Terminal Part Information
Pins: 4, 4 Terminal/Tray: 7116-4121-02/10
Core/Insulation Crimp: C/B
Release Tool/Test Probe: 12094430/J-35616-42
(RD)
Pins: 1, 3, 2
Terminal/Tray: 7116-4122-02/10
Core/Insulation Crimp: Pins 1, 3 - D/G
Core/Insulation Crimp: Pins 2 - A/B
Release Tool/Test Probe: 12094430/J-35616-42
(RD)

Fuse Block - I/P C2:






Fuse Block - I/P C3

Fuse Block - I/P C3 View:




Connector Part Information
OEM: 6098-5229
Service: 88988710
Description: 50-Way F LIF Series (BK)

Terminal Part Information
Pins: 1, 1, 34, 34
Terminal/Tray: 15304713/19
Core/Insulation Crimp: See Terminal Repair Kit
Release Tool/Test Probe: 15315247/J-35616-4A
(PU)
Pins: 43, 44, 46, 47, C
Terminal/Tray: 7116-4121-02/10
Core/Insulation Crimp: C/B
Release Tool/Test Probe: 12094430/J-35616-42
(RD)
Pins: 45 Terminal/Tray: 7116-4122-02/10
Core/Insulation Crimp: D/G
Release Tool/Test Probe: 12094430/J-35616-42
(RD)
Pins: 2, 3, 11, 12, 13, 23, 24, 35, A, 14, 14, 22, B, B
Terminal/Tray: 15304711/8
Core/Insulation Crimp: Pins 2, 3, 11, 12, 13, 23, 24, 35, A - 2/A
Core/Insulation Crimp: Pins 14, 14, 22, B, B - E/A
Release Tool/Test Probe: 15315247/J-35616-4A
(PU)
Pins: 4, 6, 6, 8, 9, 15, 18, 19, 20, 21, 27, 28, 29, 31, 32, 36, 37, 38, 41, 42, 5, 16, 16, 30, 39, 40
Terminal/Tray: 12191812/19
Core/Insulation Crimp: Pins 4, 6, 6, 8, 9, 15, 18, 19, 20, 21, 27, 28, 29, 31, 32, 36, 37, 38, 41, 42 - E/C
Core/Insulation Crimp: Pins 5, 16, 16, 30, 39, 40 - C/A
Release Tool/Test Probe: 15315247/J-35616-2A
(GY)

Fuse Block - I/P C3 (Pin 1 To 16):




Fuse Block - I/P C3 (Pin 17-42):




Fuse Block - I/P C3 (Pin 43 To C):