Curiosii for ever!
: Car repair manuals for everyone.
Home
>>
Suzuki Truck
>>
2007
>>
Grand Vitara 2WD V6-2.7L
>>
Repair and Diagnosis
>>
Powertrain Management
>>
Computers and Control Systems
>>
Testing and Inspection
>>
Component Tests and General Diagnostics
>>
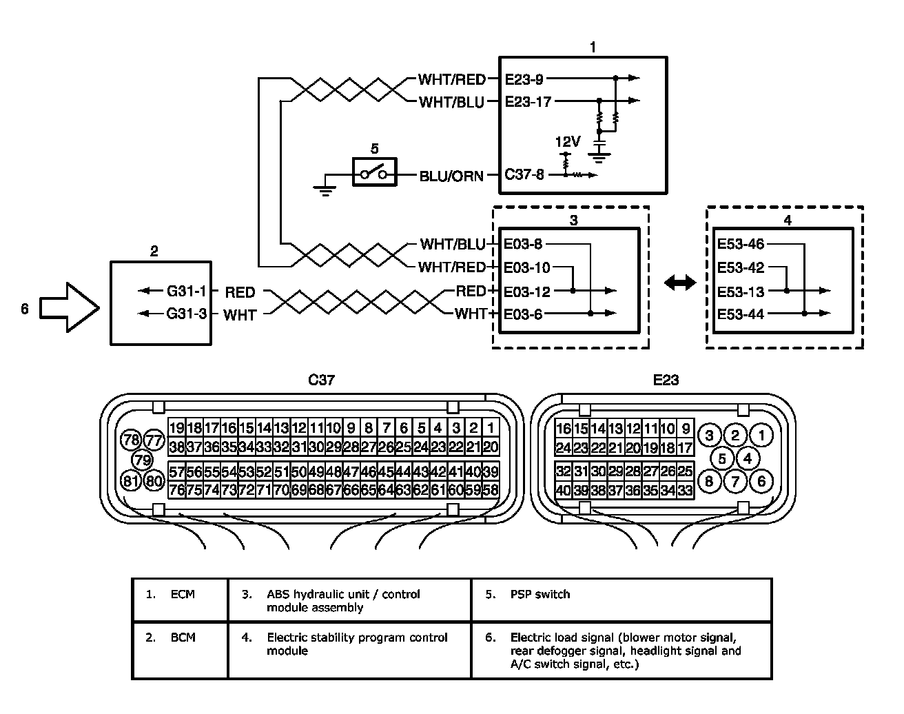
Electric Load Signal Circuit Check
Electric Load Signal Circuit Check
Electric Load Signal Circuit Check
Wiring Diagram:
Wiring Diagram
Step 1:
Step 2:
Troubleshooting