Curiosii for ever!: Car repair manuals for everyone.

Air Bag Control Module: Service and Repair

SDM Removal and Installation

WARNING:
During service procedures, be very careful when handling a Sensing and Diagnostic Module (SDM).
Be sure to read Precautions on Service and Diagnosis of Air Bag System before starting to work and observe every precaution during work. Neglecting them may result in personal injury or inactivation of the air bag system when necessary.


Removal
1. Disconnect negative cable at battery.
2. Disable air bag system referring to Disabling Air Bag System.




3. Remove rear center console box (2) and front center console box (1) by removing screws.
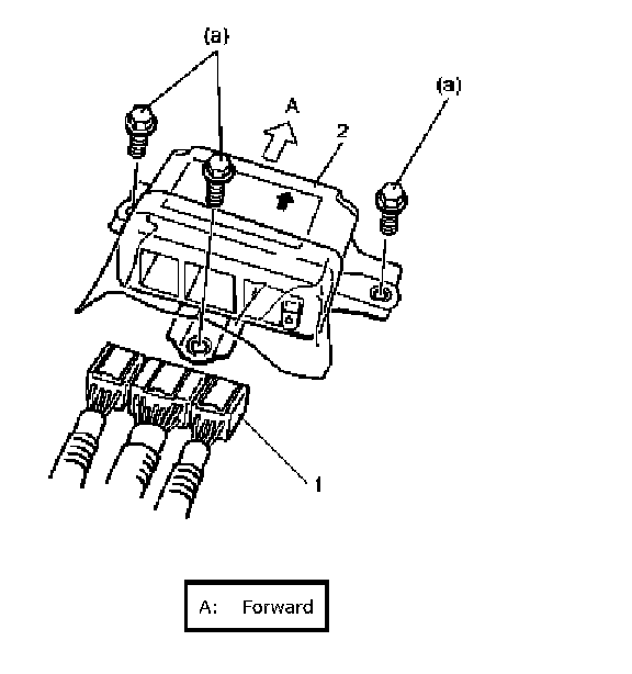
4. Disconnect SDM connector (1) from SDM (2).




5. Remove SDM (2) from vehicle.

Installation
Reference: SDM Inspection

1. Check that none of the following faulty conditions exists.
- Bend, scratch, deformity in vehicle body where SDM is mounted.
- Foreign matter or rust on mating surface of vehicle body where SDM is mounted.

2. Install SDM (2) to vehicle.

CAUTION: Ensure that arrow on the SDM is pointing toward the front of the vehicle.

3. Tighten SDM bolts to specified torque.

Tightening torque
SDM bolt a: 6 N.m (0.6 kg-m, 4.5 lb-ft)




4. Connect SDM connector (1) to SDM (2) securely.




5. Install front center console box (1) and rear center console box (2).
6. Connect negative cable at battery.
7. Enable air bag system referring to Enabling Air Bag System.