Curiosii for ever!
: Car repair manuals for everyone.
Home
>>
Suzuki Truck
>>
2006
>>
XL-7 2WD V6-2.7L
>>
Repair and Diagnosis
>>
Brakes and Traction Control
>>
Antilock Brakes / Traction Control Systems
>>
Description and Operation
>>
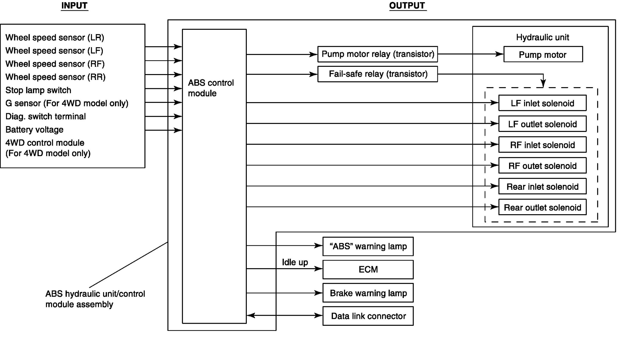
ABS Control Module Input / Output Signal Description
ABS Control Module Input / Output Signal Description
ABS Control Module Input / Output Signal Description: