Curiosii for ever!: Car repair manuals for everyone.

EVAP Control System Monitor

OBD System Description - EVAP Control System Monitor

System Description / Monitoring Procedure
To monitor the EVAP control system, a fuel tank pressure sensor and an EVAP canister air (vent) valve are added to the system.

The monitoring system measures pressure change of closed EVAP system circuit under the depressurized condition. The system also measures pressure change of closed circuit to compensate evaporative pressure with the normal range pressure, if necessary.

EVAP System Monitoring System (ORVR):




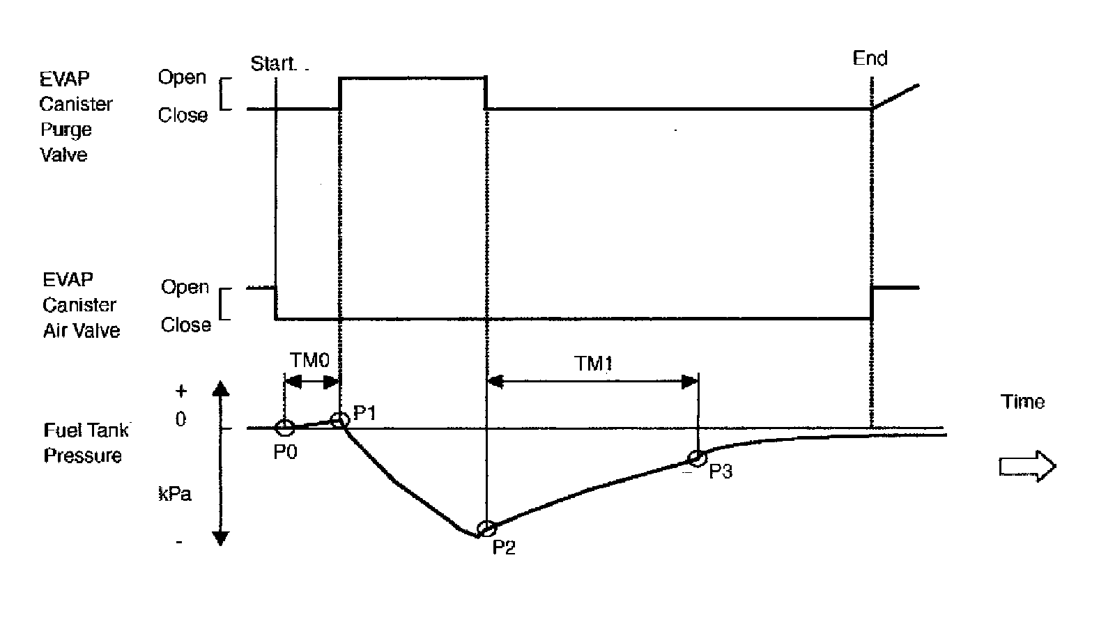
EVAP system monitoring system (ORVR)

EVAP System Monitoring Procedure:




EVAP system monitoring procedure

DTC Description / Detecting Condition / Confirmation Procedure

P0442, P0455
Refer to DTC P0442 / P0455: Evaporative Emission Control System Leak Detected (Small Leak) / (Gross Leak):H25 Engine.

P0456
Refer to DTC P0456: Evaporative Emission System Leak Detected (Very Small Leak):H25 Engine.

P0496
Refer to DTC P0444 / P0496: Evaporative Emission Control System Purge Control Valve Circuit Open / EVAP System Flow during Non-Purge:H25 Engine.

Operation:




Enable Conditions Part 1:




Enable Conditions Part 2:




Typical Malfunction Thresholds:




EVAP Control System Monitor

Mode $06 Data:




MODE $06 Data