Curiosii for ever!: Car repair manuals for everyone.

A/C Signal: Testing and Inspection

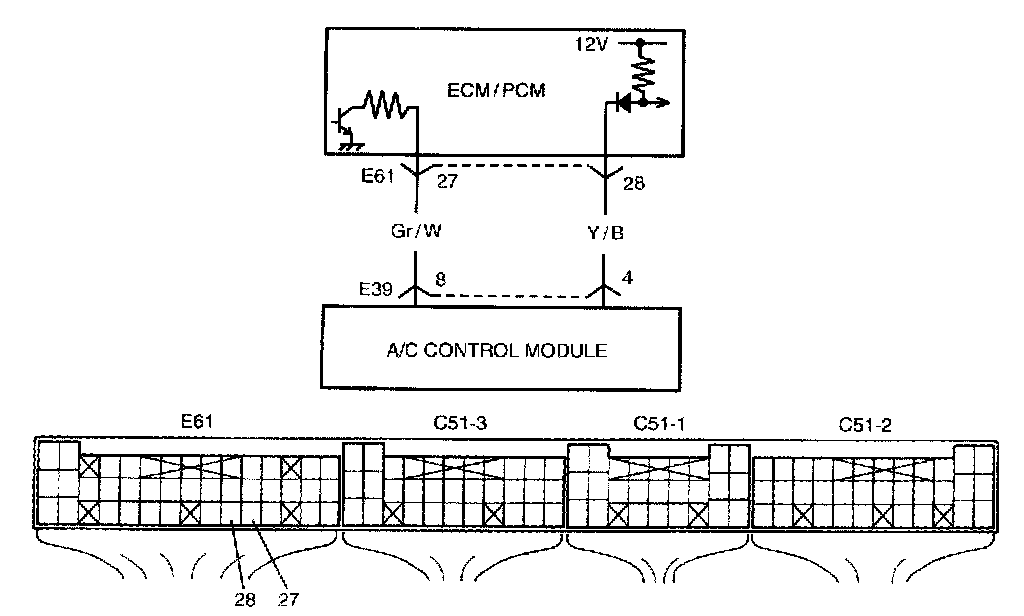
Wiring Diagram:






Circuit Description
ECM (PCM) outputs A/C ON signal (one of the signals for A/C control module to control the A/C) to A/C control module when A/C switch signal inputted to ECM (PCM) and engine conditions are specified.

Step 1 - 2:




Troubleshooting