Curiosii for ever!: Car repair manuals for everyone.

Air Bag Control Module: Service and Repair

WARNING: During service procedures, be very careful when handling a Sensing and Diagnostic Module (SDM). Be sure to read "Precautions on Service and Diagnosis of Air Bag System" and "Precautions on Handling and Storage of Air Bag System Components" before starting to work and observe every precaution during work. Neglecting them may result in personal injury or inactivation of the air bag system when necessary.

Removal
1. Disconnect negative cable at battery.
2. Disable air bag system. Refer to "Disabling Air Bag System".
3. Remove rear center console box and front center console box (1) by removing screw and clips.
4. Remove center garnish panel (2).




5. Remove ashtray (3) and tuner assembly, clock assembly (5), tuner pocket, radio hole cover (4), etc.
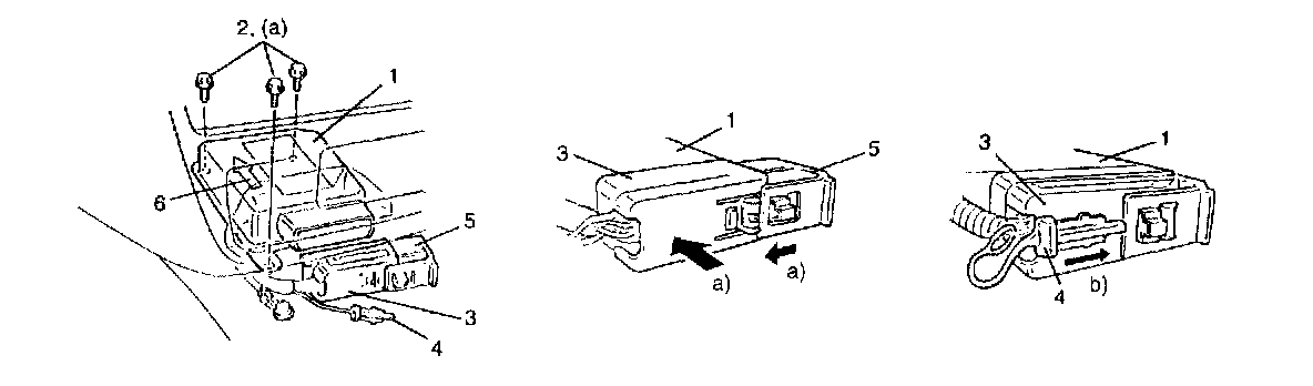
6. Disconnect SDM connector (3) from SUM (1).
a. Remove connector lock pin (4) from SDM connector
b. Pull out connector lock lever (5) fully.
c. Disconnect SDM connector (3) from SDM (1).




7. Remove SDM (1) from vehicle.

Installation
1. Check that none of the following faulty conditions exists.
- Bend, scratch, deformity in vehicle body mounted on SDM
- Foreign matter or rust on mating surface of vehicle body mounted on SDM
2. Install SDM (1) to vehicle.

CAUTION: Ensure that arrow (6) on the SDM (1) is pointing toward the front of the vehicle.

3. Tighten SDM bolts (2) to specified torque.

Tightening torque
SDM bolt (a): 6 N.m (0.6 kg-m, 4.5 lb-ft)




4. Connect SDM connector (3) to SDM (I) securely.
a. Push in connector lock lever (5) with inserting SDM connector (3) to SDM (1) securely.
b. Install connector lock pin (4) to SDM connector (3).

5. Install tuner assembly, clock assembly (5), tuner pocket, radio hole cover (4), etc. and ashtray (3) 6) Install center garnish panel (2).




7. Install front center console box (1) and rear center console box.
8. Connect negative cable to battery.
9. Enable air bag system. Refer to "Enabling Air Bag System".