Curiosii for ever!: Car repair manuals for everyone.

Engine Control Module: Service and Repair

ENGINE CONTROL MODULE (ECM) / POWERTRAIN CONTROL MODULE (PCM)

CAUTION: As ECM (PCM) consists of precision parts, be careful not to expose it to excessive shock.

Removal
1. Disconnect battery negative cable from battery.
2. Disable air bag system (if equipped) referring to "Disabling Air Bag System:".




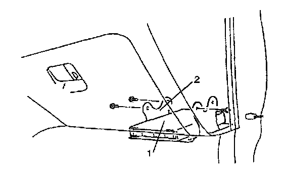
3. Remove ECM (PCM) cover (1) from bracket.




4. Disconnect connectors from ECM (PCM) (1).
5. Remove ECM (PCM) (1) with bracket (2).

Installation
1. Install ECM (PCM) with bracket to vehicle.
2. Connect connectors to ECM (PCM) securely.
3. Install ECM (PCM) cover to bracket.
4. Enable air bag system (if equipped) referring to "Enabling Air Bag System:"
5. Connect negative cable to battery.