Curiosii for ever!: Car repair manuals for everyone.

Power Door Lock Control Module: Testing and Inspection

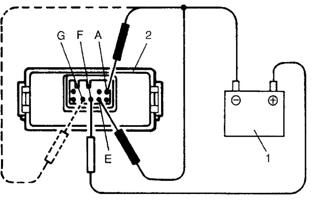
Power Door Lock Controller (without Keyless Entry System) Inspection

1. Disconnect power door lock controller coupler.
2. Connect (+) wire and (-) wire of 12 V battery (1) to terminal "A", "E" and "F" as shown in figure.
3. Disconnect cord from terminal "E" and connect it to terminal "G".
4. Repeat Steps 2) and 3) several times and if relay operation is heard every time, it means that controller (2) is operating.