Curiosii for ever!: Car repair manuals for everyone.

Main Shaft Assembly

MAIN SHAFT ASSEMBLY





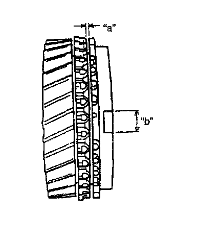
Check clearance "a" between synchronizer ring and gear, key slot width "b" in synchronizer ring and each chamfered tooth of gear and synchronizer ring and replace with new one, if necessary. Also, check gear tooth.
Clearance "a" between synchronizer ring and gear (Main shaft):
Standard: 1.0 - 2.0 mm (0.039 - 0.078 inch)
Service limit: 0.8 mm (0.032 inch)
Key slot width "b" (Main shaft):
1st, 2nd:
Standard: 12.2 - 12.4 mm (0.481 - 0.488 inch)
Service limit: 12.65 mm (0.498 inch)
3rd:
Standard: 10.0 - 10.2 mm (0.394 - 0.401 inch)
Service limit: 10.45 mm (0.411 inch)





^ Check clearance between fork and sleeve. If clearance exceeds limit, replace fork and sleeve.
Clearance between fork and sleeve:
Standard: 0.15 - 0.35 mm (0.006 - 0.013 inch)
Limit: 1.0 mm (0.039 inch)





^ Check diameter of main shaft (1)/needle bush (2) and thickness of main shaft (1)/needle bush (2) flanges as shown in the figure. If measured value is out of specification, replace them (or it).





Main shaft/needle bush specification (diameter and thickness):





^ Using "T blocks (1) and dial gauge (2), check runout. If runout exceeds limit below, replace main shaft (3).
Main shaft runout:
limit: 0.06 mm (0.0023 inch)





^ Using cylinder gauge (1), check inside diameter of each gear. If its inside diameter exceeds specification, replace it.





Inside diameter of gear:

^ Check chamfered part of each sleeve for damage and excessive wear, and replace as necessary.
^ Check each synchronizer key and synchronizer spring and replace as necessary.
^ Check splined portions and replace parts if excessive wear is found.





^ Check 2nd gear (1) thrust clearance by using thickness gauge (2). If clearance is out of specification, repress-fit or replace defective part.
2nd gear thrust clearance
Standard: 0.10 - 0.25 mm (0.004 - 0.009 inch)





^ Check low gear (1) thrust clearance by using thickness gauge (2). If clearance is out of specification, repress-fit or replace mainshaft bearing and 5th gear.
Low gear thrust clearance:
Standard: 0.10 - 0.25 mm (0.004 - 0.009 inch)