Curiosii for ever!: Car repair manuals for everyone.

Input Shaft Assembly

INPUT SHAFT ASSEMBLY





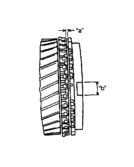
Check clearance "a" between synchronizer ring and gear, key slot width "b" in synchronizer ring and each chamfered tooth of gear and synchronizer ring and replace with new one, if necessary. Also, check gear tooth.
Clearance "a" between synchronizer ring and gear (input shaft):
Standard: 1.0 - 2.0 mm (0.039 - 0.078 inch)
Service limit: 0.8 mm (0.032 inch)
Key slot width "b" (input shaft):
Standard: 10.0 - 10.2 mm (0.394 - 0.401 inch)
Service limit: 10.45 mm (0.411 inch)