Curiosii for ever!: Car repair manuals for everyone.

Disassembling Unit

DISASSEMBLING UNIT








1. Hold differential assembly securely and put identification marks on differential side bearing caps (6).
2. Take off differential side bearing lock plates (4) and differential side bearing caps (6) by removing their bolts and then take out bearing adjusters (5), side bearing outer races and drive bevel gear with differential case.
3. Remove drive bevel gear (hypoid gear), differential gears, differential pinions and pinion shafts.





a. With aluminum plates (2) placed on vise first, grip differential case with it and remove drive bevel gear (hypoid gear) (3) by removing its bolts (1).





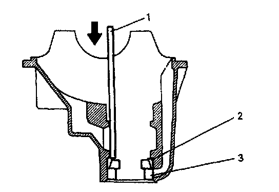
b. Remove differential left case (2)from differential right case (1).





c. Remove pinion shafts, differential gears, washers, differential pinions, spring washers, thrust washers.





4. Using special tools, pull out differential side bearings (1).
Special tool
(C): 09913-85230
(D): 09913-61510
5. Remove drive bevel pinion (hypoid gear) assembly.








a. Hold universal joint flange with special tool and then remove flange nut by using power wrench (4 - 10 magnification) (2).
Special tool
(E): 09922-66021





b. Make mating marks (1) on drive bevel pinion and companion flange.

CAUTION: Don't make mating mark on the coupling surface of the flange.

c. Remove companion flange from drive bevel pinion. Use special tool if it is hard to remove.
Special tool
(F): 09913-65135





d. Remove drive bevel pinion with rear bearing, shim and spacer from carrier.
If it is hard to remove, screw an used nut into drive bevel pinion and hammer on that nut with a plastic hammer but never directly on drive bevel pinion.








e. Remove drive bevel pinion rear bearing (2) by using bearing puller (3) and press.





6. Using a hammer and brass bar (1), drive out front bearing outer race with bearing (2) and oil seal (3).





7. Drive out rear bearing outer race in the same way as in the step 6).