Curiosii for ever!: Car repair manuals for everyone.

System Specifications

CYLINDER HEAD TIGHTENING PROCEDURES








Install cylinder head to block.
After applying oil to cylinder head bolts, tighten them gradually as follows.
a. Tighten all bolts to 53 Nm (5.3 kg-m, 38.5 ft. lbs.) according to numerical order in the figure.
b. In the same manner as in a), tighten them to 84 Nm (8.4 kg-m, 61.0 ft. lbs.).
c. Loosen all bolts until tightening torque is reduced to 0 in reverse order of tightening.
d. In the same manner as in a), tighten them to 53 Nm (5.3 kg-m, 38.5 ft. lbs.).
e. In the same manner as in a) again, tighten them to specified torque.
Tightening torque
Cylinder head bolt (a) :105 Nm (10.5 kg-m, 76.0 ft. lbs.)
Cylinder head bolt (hex hole bolt) (b): 11 Nm (1.1 kg-m, 7.5 ft. lbs.)

NOTE: Don't forget to install (b) bolts as shown in the figure.



GENERAL SPECIFICATIONS

Valve Guides





Using a micrometer and bore gauge, take diameter readings on valve stems and guides to check stem-to-guide clearance. Be sure to take reading at more than one place along the length of each stem and guide. If clearance exceeds limit, replace valve and valve guide.





Valve stem-to-guide clearance:

Valves
^ Remove all carbon from valves.
^ Inspect each valve for wear, burn or distortion at its face and stem and, as necessary, replace it.








^ Measure thickness of valve head. If measured thickness exceeds limit, replace valve.





Valve specification:





^ Inspect valve stem end face for pitting and wear. If pitting or wear is found there, valve stem end may be resurfaced, but not too much to grind off its chamber. When it is worn out too much that its chamber is gone, replace valve.





^ Check each valve for radial runout with a dial gauge and "V" block.
To check runout, rotate valve slowly. If runout exceeds its limit, replace valve.
Limit on valve head radial runout: 0.08 mm (0.003 inch)





^ Seating contact width:
Create contact pattern one each valve in the usual manner, i.e., by giving uniform coat of marking compound to valve seat and by rotating tapping seat with valve head. Valve lapper (tool used in valve lapping) must be used.
Pattern produced on seating face of valve must be a continuous ring without any break, and the width of pattern must be within specified range.
Standard seating width "a" revealed by contact pattern on valve face
IN: 1.1 - 1.3 mm (0.0433 - 0.0512 inch)
EX: 1.1 - 1.3 mm (0.0433 - 0.0512 inch)

^ Valve seat repair:
A valve seat not producing a uniform contact with its valve or showing width of seating contact that is out of specified range must be repaired by regrinding or by cutting and regrinding and finished by lapping.








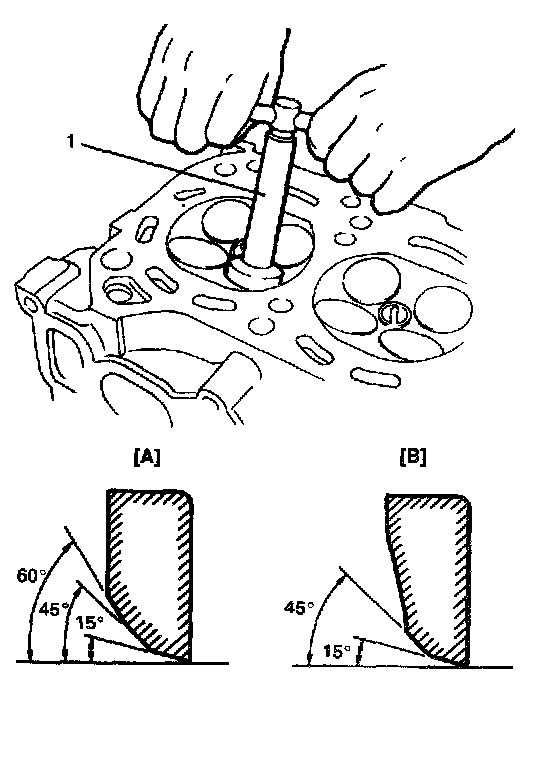
1. EXHAUST VALVE SEAT: Use valve seat cutters (1) to make 2 cuts as shown in the figure. 2 cutters must be used: the first for making 15° angle, and the second for making 45° angle. The second cut must be made to produce desired seat width.
Seat width for valve seat: 1.1 - 1.3 mm (0.0433 - 0.0512 inch)
2. INTAKE VALVE SEAT: Use valve seat cutters to make 3 cuts as shown in the figure. 3 cutters must be used: the 1st for making 15° angle, the 2nd for making 60° angle, and 3rd for making 45° angle. The 3rd cut (45°) must be made to produce desired seat width.
Seat width for intake valve seat: 1.1 - 1.3 mm (0.0433 - 0.0512 inch)
3. VALVE LAPPING: Lap valve on seat in 2 steps, first with coarse size lapping compound applied to face and the second with fine-size compound, each time using valve lapper according to usual lapping method.

Cylinder Head





^ Remove all carbon from combustion chambers.

NOTE: Do not use any sharp-edged tool to scrape off carbon. Be careful not to scuff or nick metal surfaces when decarboning. The same applies to valves and valve seats, too.





^ Check cylinder head for cracks on intake and exhaust ports, combustion chambers, and head surface.
Using straightedge (1) and thickness gauge (2), check flatness of gasketed surface at a total of 6 locations. If distortion limit, given below, is exceeded, correct gasketed surface with a surface plate and abrasive paper of about #400 (Waterproof silicon carbide abrasive paper): Place abrasive paper on and over surface plate, and rub gasketed surface against paper to grind off high spots. Should this fail to reduce thickness gauge readings to within limit, replace cylinder head.
Leakage of combustion gases from this gasketed joint is often due to warped gasketed surface: such leakage results in reduced power output.
Gasketed surface distortion:
Limit: 0.05 mm (0.002 inch)





^ Distortion of manifold seating faces:
Check seating faces of cylinder head for manifolds, using a straightedge (1) and thickness gauge (2), in order to determine whether these faces should be corrected or cylinder head replaced.
Manifold seating face distortion:
Limit: 0.10 mm (0.004 inch)

Valve Springs





^ Check to be sure that each spring is in sound condition, free of any evidence of breakage or weakening. Remember, weakened valve springs can cause chatter, not to mention possibility of reducing power output due to gas leakage caused by decreased seating pressure.





Valve spring free length:





Valve spring preload:





^ Use a square and surface plate to check each spring for squareness in terms of clearance between end of valve spring and square. Valve springs found to exhibit a larger clearance than limit given below must be replaced.
Valve spring squareness limit:
Inner spring: 1.6 mm (0.063 inch)
Outer spring: 1.8 mm (0.070 inch)