Curiosii for ever!: Car repair manuals for everyone.

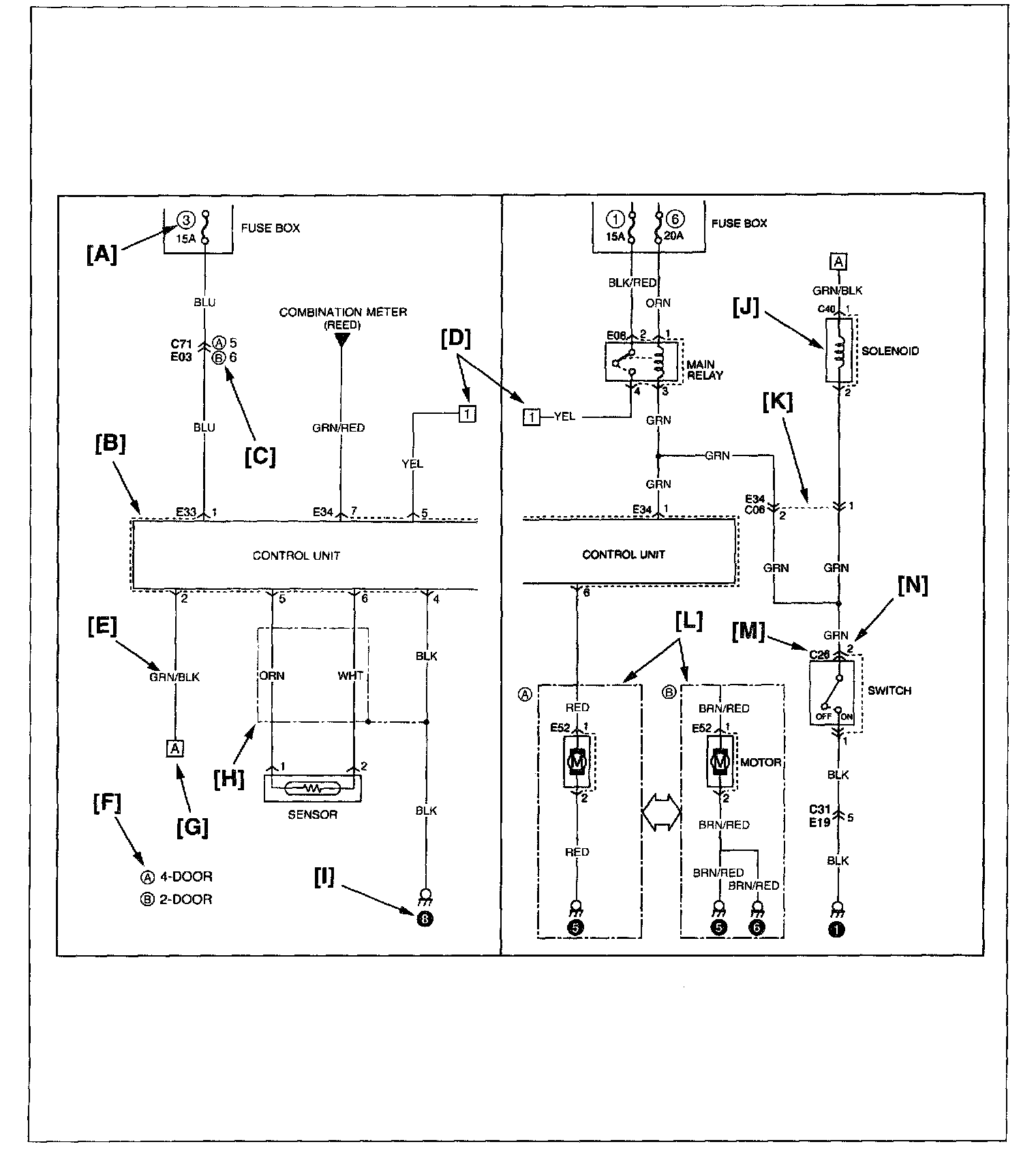
How to Read System Circuit Diagram




The circuit diagram of each system shows the electric circuit from the main fuse, fuse box or the ignition switch (at the top in the diagram) to the ground (at the bottom) so that the circuit can be followed easily when performing inspection and service work.

Further information on connector, ground point and fuses is provided by cross-reference of "SYSTEM CIRCUIT DIAGRAM" and the other systems as described in the preceding indications.

Connector code, ground No. and fuse No. are the reference code for cross-reference.

[A]: Fuse No.
This No. indicates the reference code to power supply diagram. (Refer to ("POWER SUPPLY DIAGRAM") for the continuity of the upper circuit.)

[B]: Connector mark
This indicates that the connector is identical.

[C]:
Variations by specifications are identified by codes.

[D]:
This indicates continuity between same symbol.

[E]: Wire color
This indicates the wire color. (Refer to "WIRE COLOR SYMBOLS".)

[F]:
This indicates the variations by the specifications.

[G]:
This indicates that the circuit is continued to the same symbol.

[H]:
This indicates that the shield wire.

[I]: Ground point
This indicates the ground No. (Refer to ("GROUND POINT") for the location.)

[J]: Symbol mark
Symbol marks are used for better legibility. For more information, refer to "SYMBOLS AND MARKS".

[K]: Identical marks
This indicates that the intermediate connector is identical.

[L]:
This indicates variation of circuit depending on specifications.

[M]: Connector code
This indicates the reference code to ("CONNECTOR LAYOUT DIAGRAM") or ("LIST OF CONNECTORS") for further information.

[N]: Pin No.
This indicates the pin No. (Refer to ("LIST OF CONNECTORS") for the pin position in the connector.)