Curiosii for ever!: Car repair manuals for everyone.

Removal and Replacement

WARNING: During service procedures, be very careful when handling a Sensing and Diagnostic Module (SDM). Be sure to read "Service Precautions" before starting to work and observe every precaution during work. Neglecting them may result in personal injury or inactivation of the air bag system when necessary.

REMOVAL






1. Disconnect negative cable at battery.
2. Disable air bag system. Refer to "Air Bag(s) Arming and Disarming".
3. Remove rear and front center console box by removing screw and clips.
4. Remove center garnish panel.
5. Remove ashtray and tuner assembly, clock assembly, tuner pocket, radio hole cover, etc.






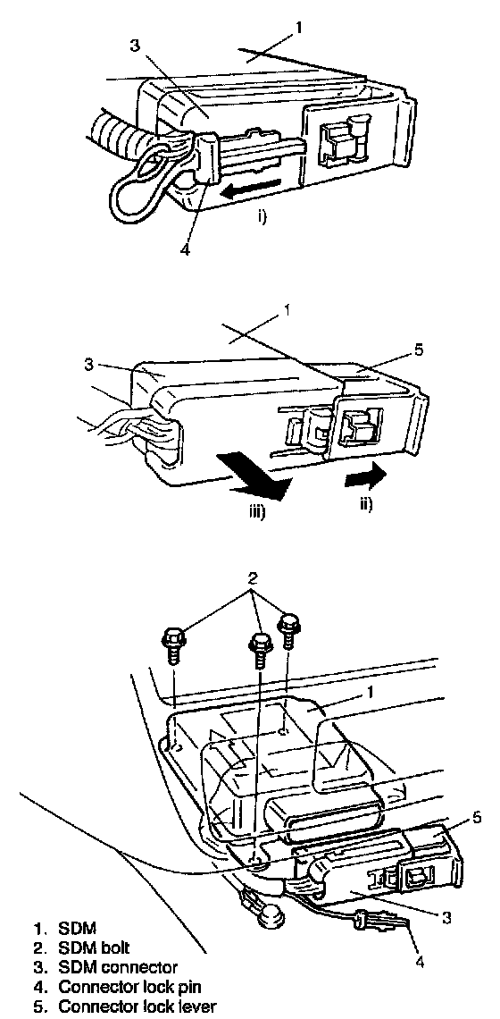
6. Disconnect SDM connector from SDM.
- Remove connector lock pin from SDM connector.
- Pull out connector lock lever fully.
- Disconnect SDM connector from SDM.
7. Remove SDM from vehicle.



INSTALLATION






1. Check that none of following faulty conditions exists.
- Bend, scratch, deformity in vehicle body mounted on SDM
- Foreign matter or rust on mating surface of vehicle body mounted on SDM
2. Install SDM to vehicle.

CAUTION: Ensure that arrow on the SDM is pointing toward the front of the vehicle.

3. Tighten SDM bolts to specified torque.

Tightening Torque
(a): 6 N.m (0.6 kg-m, 4.5 lb-ft)

4. Connect SDM connector to SDM securely.
- Push in connector lock lever with inserting SDM connector to SDM securely.
- Install connector lock pin to SDM connector.






5. Install tuner assembly, clock assembly, tuner pocket, radio hole cover, etc. and ashtray.
6. Install center garnish panel.
7. Install front and rear center console box.
8. Connect negative cable to battery.
9. Enable air bag system. Refer to "Air Bag(s) Arming and Disarming".