Curiosii for ever!: Car repair manuals for everyone.

Fuel Pump Control System





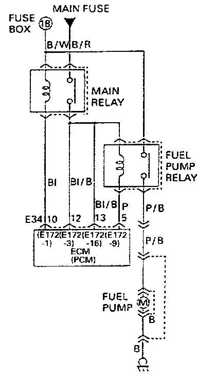
FUEL PUMP CONTROL SYSTEM
ECM controls ON/OFF operation of the fuel pump by turning it ON via the fuel pump relay under one of the following conditions.
- For 3 seconds after ignition switch ON.
- While engine start signal is inputted to ECM.
- While CMP sensor signal is inputted to ECM.