Curiosii for ever!: Car repair manuals for everyone.

Electronic Brake Control Module: Testing and Inspection

VDC Control Module and Hydraulic Control Unit (VDCCM&H/U)

INSPECTION

1) Check the identification (a) of the VDC control module & hydraulic control unit (VDCCM&H/U).

NOTE:
For the identification, refer to "SPECIFICATION" in "General Description".





2) Check the condition of connection and settlement of connector, and correct or replace if defective.

CHECKING THE HYDRAULIC UNIT ABS OPERATION BY PRESSURE GAUGE

1) Lift up the vehicle, and then remove the wheel.
2) Remove the bleeder - screws from the FL and FR caliper bodies.
3) Connect two pressure gauges to FL and FR caliper bodies.

CAUTION:
^ Use a pressure gauge used exclusively for brake fluid measurement.
^ Do not use the pressure gauge used for the measurement of transmission oil. Doing so will cause the piston seal to expand and deform.

NOTE:
Wrap sealing tape around the pressure gauge.





4) Bleed air from the pressure gauges and the FL and FR caliper bodies.
5) Perform ABS sequence control.

NOTE:
When the hydraulic unit begins to work, first the FL side performs decompression, hold and compression, and then the FR side performs decompression, hold and compression.
6) Read values indicated on the pressure gauge and check if the fluctuation of the values between decompression and compression meets the standard values. Depress the brake pedal and check that the kick-back is normal, and tightness is normal.





7) Disconnect the pressure gauges from FL and FR caliper bodies.
8) Install the bleeder - screws of FL and FR caliper bodies.
9) Remove the bleeder - screws from RL and RR caliper bodies.
10) Connect two pressure gauges to RL and RR caliper bodies.
11) Bleed air from RL and RR caliper bodies, and pressure gauge.
12) Perform ABS sequence control.

NOTE:
When the hydraulic unit begins to work, first the RR side performs decompression, hold and compression, and then the RL side performs decompression, hold and compression.
13) Read values indicated on the pressure gauge and check if the fluctuation of the values between decompression and compression meets specification. Depress the brake pedal and check that the kick-back is normal, and tightness is normal.
14) Disconnect the pressure gauge from the RL and RR caliper bodies.
15) Install the bleeder - screws of RL and RR caliper bodies.
16) Bleed air from the brake system.

CHECKING THE HYDRAULIC UNIT ABS OPERATION WITH THE BRAKE TESTER

1) Set wheels other than the one to measure on free rollers.
2) Prepare for the ABS sequence control operation.
3) Set the front wheels or rear wheels on the brake tester (a) and set the gear to neutral.





4) Operate the brake tester.
5) Perform ABS sequence control.
6) When the hydraulic unit begins to work, check the following work sequence.
(1) The FL wheel performs decompression, hold and compression in sequence, and subsequently the FR wheel repeats the cycle.
(2) The RR wheel performs decompression, hold and compression in sequence, and subsequently the RL wheel repeats the cycle.
7) Read values indicated on the brake tester and check if the fluctuation of the values between decompression and compression meets specification.





8) After the inspection, depress the brake pedal and check that it is not abnormally hard, and tightness is normal.

CHECKING THE HYDRAULIC UNIT VDC OPERATION USING A PRESSURE GAUGE

1) Lift up the vehicle, and then remove the wheel.
2) Remove the bleeder - screws from FL and FR caliper bodies.
3) Connect two pressure gauges to FL and FR caliper bodies.

CAUTION:
^ Use a pressure gauge used exclusively for brake fluid measurement.
^ Do not use a pressure gauge used for the measuring transmission oil pressure, as the piston seal may expand and deform.

NOTE:
Wrap sealing tape around the pressure gauge.





4) Bleed air from the pressure gauge.
5) Perform VDC sequence control.

NOTE:
When the hydraulic unit begins to work, first the FL side performs compression, hold, and decompression, and then the FR side performs compression, hold, and decompression.
6) Read values indicated on the pressure gauge and check if the fluctuation of the values between decompression and compression meets specification. Depress the brake pedal and check that it is not abnormally hard, and tightness is normal.





7) Disconnect the pressure gauges from FL and FR caliper bodies.
8) Install the bleeder - screws of FL and FR caliper bodies.
9) Remove the bleeder - screws from RL and RR caliper bodies.
10) Connect two pressure gauges to RL and RR caliper bodies.
11) Bleed air from RL and RR caliper bodies, and pressure gauge.
12) Perform VDC sequence control.

NOTE:
When the hydraulic unit begins to work, first the RR side performs compression, hold, and decompression, and then the RL side performs compression, hold, and decompression.
13) Read the values indicated on the pressure gauges and check if it is within specification. Depress the brake pedal and check that it is not abnormally hard, and tightness is normal.
14) Disconnect the pressure gauge from the RL and RR caliper bodies.
15) Install the bleeder - screws of RL and RR caliper bodies.
16) Bleed air from the brake system.

CHECK HYDRAULIC UNIT VDC OPERATION WITH BRAKE TESTER

1) Set wheels other than the one to measure on free rollers.
2) Prepare to operate the VDC sequence control.
3) Set the front wheels or rear wheels on the brake tester (a) and set the gear to neutral.





4) Operate the brake tester.
5) Perform VDC sequence control.
6) When the hydraulic unit begins to work, check the following work sequence.
(1) The FL wheel performs compression, hold and decompression in sequence, and subsequently the FR wheel repeats the cycle.
(2) The RR wheel performs compression, hold and decompression in sequence, and subsequently the RL wheel repeats the cycle.
7) Read values indicated on the brake tester and check if the fluctuation of the values between decompression and compression meets specification.





8) After the inspection, depress the brake pedal and check that it is not abnormally hard, and tightness is normal.

REPLACEMENT

CAUTION:
^ Because the pressure sensor built into the H/U is easily damaged by static electricity, start the operation after performing static electricity measures.
^ Be careful not to touch the sensors in the H/U to prevent damage.
^ Because the seal of the VDCCM cannot be replaced, do not pull or peel it by lifting it up.
^ Because the screw of the H/U will become slightly worn in every replacement procedure, 5 times is the maximum number of times for replacement. If a problem is found such as not being able to torque the screw to specifications even before 5 replacement operations are performed, replace the H/U body.
^ When installing the VDCCM, always use new screws.
^ When the sealing surface of the VDCCM or H/U is dirty or damaged and it cannot be cleaned or repaired, replace with a new part.
1) Remove the VDCCM&H/U.
2) To prevent entry of foreign objects and brake fluid leakage, plug the oil pressure port of the VDCCM&H/U using a screw plug, etc.
3) Set the pump motor section of the removed VDCCM&H/U face down on a vise.

NOTE:
Before securing a part on a vise, place cushioning material such as wood blocks, aluminum plate, or cloth between the part and the vise.





4) Using TORX(R) bit E5, remove the four screws of VDCCM.

CAUTION:
Do not re-use the screws.





5) Slowly pull out the VDCCM upward from the H/U.

NOTE:
To prevent damaging of coil section, remove the VDCCM straight up from H/U without twisting.
6) Make sure there is no dirt or damage on the sealing surface of the H/U.

CAUTION:
^ Do not clean the VDCCM&H/U by applying compressed air.
^ Even if damage is found on the H/U seal, do not attempt repair by filing or with a metal scraper. To remove the seal residue, always use a plastic scraper. Do not use chemical such as paint thinner, etc., to clean.
7) Position the coil of the new VDCCM to align with the H/U valve.
8) To prevent deformation of the VDCCM housing cover, hold the corner of VDCCM and install it to the H/U without tilting.
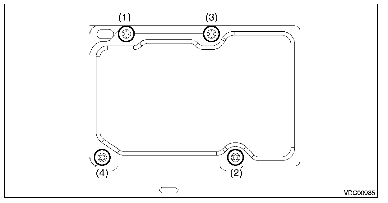
9) Using a TORX(R) bit E5, attach/tighten new screws in the order of (1) through (4).

CAUTION:
Always use new screws.





Tightening torque:
1.5 Nm (0.15 kgf-m, 1.1 ft-lb)
10) Check that there is no foreign matter in mating surface between the VDCCM&H/U.
11) Using a TORX(R) bit E5, tighten the screws in the order of (1) through (4) again.

Tightening torque:
3 Nm (0.31 kgf-m, 2.2 ft-lb)
12) Check that there is no gap in the mating surface between VDCCM&H/U.
13) Install the VDCCM&H/U to the vehicle.

CAUTION:
When installing the VDCCM&H/U, replace the damper - hydraulic unit, spacer and nut with new parts.
14) Bleed air from the brake system.
15) Perform the selection and registration operation of parameter. Scan Tool Testing and Procedures

NOTE:
^ After replacing the VDCCM, be sure to perform the selection - registration operation of parameter.
^ For the selection and registration of parameter, the Subaru Select Monitor is required.
^ When the registration has not been performed, the DTC code "Parameter selection error" is detected together with the ABS/EBD/VDC warning light illumination.
16) Check the parameter to confirm that the applied models and grades of the relevant vehicle are included. Scan Tool Testing and Procedures
17) If the applied models and grades of the relevant vehicle are not included, perform the selection - registration operation of parameter with the {Confirm on parameter} screen again. Scan Tool Testing and Procedures
18) Execute Clear Memory after parameter selection and registration operations because the DTC for "Parameter selection error" is memorized. Clear Memory Mode