Curiosii for ever!: Car repair manuals for everyone.

Disassembly

DISASSEMBLY





1. REMOVE MAGNET STARTER SWITCH ASSEMBLY(for Manual Transmission)
(1) Remove the nut and disconnect the lead wire from terminal M.





(2) Remove the 2 screws and the magnet starter switch assembly from the starter drive housing assembly.





2. REMOVE MAGNET STARTER SWITCH ASSEMBLY(for Automatic Transmission)
(1) Remove the nut and disconnect the lead wire from terminal M.





(2) Remove the 2 nuts and the magnet starter switch assembly from the starter drive housing assembly.





3. REMOVE STARTER YOKE ASSEMBLY (for Automatic Transmission)
(1) Using a "TORX" socket wrench T25, remove the 2 through bolts.





(2) Remove the starter yoke assembly and starter cover from the starter drive housing assembly.





4. REMOVE STARTER COVER (for Manual Transmission)
(1) Remove the 2 through bolts and 2 screws, and remove the starter cover.





5. REMOVE STARTER COVER (for Automatic Transmission)
(1) Remove the 2 screws.





(2) Remove the starter cover from the starter yoke assembly.

Text in Illustration





CAUTION:
Hold the lead wire and remove the starter cover.


(3) Remove the dust starter protect from the starter yoke assembly.





6. REMOVE STARTER BRUSH HOLDER ASSEMBLY(for Manual Transmission)
(1) Remove the starter brush holder assembly.

NOTE:
Hold the brush with your fingers so that the brush spring does not come flying out.





7. REMOVE STARTER BRUSH HOLDER ASSEMBLY(for Automatic Transmission)
(1) Using a screwdriver, disengage the spring from the bush.
(2) Disconnect the 4 brush from the starter brush holder assembly.
(3) Remove the starter brush holder assembly.





8. REMOVE STARTER YOKE ASSEMBLY (for Manual Transmission)
(1) Remove the starter yoke assembly and starter armature assembly together from the starter drive housing assembly.





9. REMOVE STARTER ARMATURE ASSEMBLY (for Manual Transmission)
(1) Pull out the starter armature assembly from the starter yoke assembly.





10. REMOVE STARTER ARMATURE ASSEMBLY (for Automatic Transmission)
(1) Pull out the starter armature assembly from the starter yoke assembly.

Text in Illustration








11. REMOVE STARTER ARMATURE PLATE (for Automatic Transmission)
(1) Remove the starter armature plate from the starter yoke assembly and starter drive housing assembly.

Text in Illustration








12. REMOVE STARTER HOUSING RUBBER (for Manual Transmission)
(1) Remove the starter housing rubber, seal rubber and plate from the starter drive housing assembly.

Text in Illustration








13. REMOVE RUBBER SEAL (for Automatic Transmission)
(1) Remove the rubber seal from the starter drive housing assembly.

Text in Illustration








14. REMOVE STARTER PLANETARY GEAR
(1) Remove the 3 starter planetary gears from the starter clutch subassembly.





15. REMOVE STARTER CLUTCH SUB-ASSEMBLY (for Manual Transmission)
(1) Remove the starter clutch sub-assembly together with the drive lever set pin from the starter drive housing assembly.





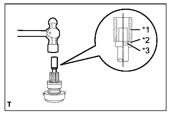
(2) Using a deep socket wrench, remove the stopper from snap ring.

Text in Illustration








(3) Using snap ring pliers, remove the snap ring and stopper.





(4) Pull out the over running clutch from the shaft.





(5) Remove the internal gear assembly from the shaft.

Text in Illustration